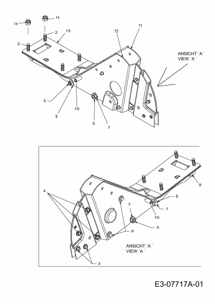
Ersatzteile MTD Motorhacke T 330 B 700 Typ: 21C-332Z602  (2012) Rahmen
Für eine größere Ansicht klicken Sie auf das Vorschaubild

Ersatzteile MTD Motorhacke T 330 B 700 Typ: 21C-332Z602 (2012) Rahmen

MTD
MTD Art.Nr.: E3-07717A-01
Hier können Sie Ersatzteile MTD Motorhacke T 330 B 700 Typ: 21C-332Z602 (2012) Rahmen einfach online kaufen.

In der Skizze sind die Teile mit einer Zahl gekennzeichnet. Diese finden Sie in der Tabelle wieder und können so das Ersatzteil aus der Tabelle auswählen und online kaufen.


Ersatzteil
deutschenglishfrench
PreisBildkaufen
Teil 1 6KT-SCHR:5/16-18:2.75:GR5:STD
Art.Nr.: WG-710-0176
Part 1 HHCS:5/16-18:2.75:GR5:STD
Article no.: WG-710-0176
Partie 1 VIS HEX.:5/16-18:2.75:GR5:STD
Numéro d'article: WG-710-0176
5,70 € ohne Abbildung
Teil 2 6KT-SCHR:5/16-18:1.75:GR5:STD
Art.Nr.: WG-710-3180
Part 2 HHCS:5/16-18:1.75:GR5:STD
Article no.: WG-710-3180
Partie 2 VIS HEX. 5/16-18:1.75:GR5:STD
Numéro d'article: WG-710-3180
4,75 € ohne Abbildung
Teil 3 6KT-SCHRAUBE:TT:5/16-18:1.00
Art.Nr.: WG-710-0602
Part 3 SCR:TT:5/16-18:1.00:HXINDWSH
Article no.: WG-710-0602
Partie 3 VIS
Numéro d'article: WG-710-0602
4,20 € ohne Abbildung
Teil 4 6KT-SCHRAUBE:TT:5/16-18:0.63
Art.Nr.: WG-710-0604A
Part 4 SCR:TT:5/16-18:0.63:HXINDWSH
Article no.: WG-710-0604A
Partie 4 VIS 5/16-18:0.625
Numéro d'article: WG-710-0604A
3,74 € ohne Abbildung
Teil 5 6KT-MUTTER:7/16-20:GR2
Art.Nr.: WG-712-0240
Part 5 NUT:HEXJAM:7/16-20:GR2
Article no.: WG-712-0240
Partie 5 ECROU HEX.: 7/16-20:GR2
Numéro d'article: WG-712-0240
3,74 € Teil 5 6KT-MUTTER:7/16-20:GR2 Art.Nr.: WG-712-0240
Teil 6 6KT-S-MUTTER:5/16-18:GRN5:NYL
Art.Nr.: WG-712-0429
Part 6 NUT:HEXLK:5/16-18:GRN5:NYLON
Article no.: WG-712-0429
Partie 6 ECROU
Numéro d'article: WG-712-0429
4,41 € Teil 6 6KT-S-MUTTER:5/16-18:GRN5:NYL Art.Nr.: WG-712-0429
Teil 7 FEDERRING 7/16" NORMALAUSF.
Art.Nr.: WG-736-0171
Part 7 WASHER:LOCK:7/16:REGULAR DUTY
Article no.: WG-736-0171
Partie 7 RONDELLE GROWER
Numéro d'article: WG-736-0171
2,56 € Teil 7 FEDERRING 7/16
Teil 8 TELLERFEDER:0.336X0.885X.060
Art.Nr.: WG-736-0242
Part 8 WASH:BLVL:0.336X0.885X0.060
Article no.: WG-736-0242
Partie 8 RONDELLE CONIQUE.340X.872X.060
Numéro d'article: WG-736-0242
3,74 € Teil 8 TELLERFEDER:0.336X0.885X.060 Art.Nr.: WG-736-0242
Teil 9 GEWINDEBOLZEN:.475 x 2.11:TT:
Art.Nr.: WG-738-0934
Part 9 SCR:SHLDR:.475x2.11:TT:5/16-18
Article no.: WG-738-0934
Partie 9 GOUJON FILETE
Numéro d'article: WG-738-0934
9,62 € ohne Abbildung
Teil 10 DISTANZHÜLSE:.47 OD x.96 LG
Art.Nr.: WG-750-0470
Part 10 SPACER:.47 OD x.96 LG
Article no.: WG-750-0470
Partie 10 ENTRETOISE
Numéro d'article: WG-750-0470
6,90 € ohne Abbildung
Teil 11 RAHMEN RECHTS
Art.Nr.: WG-786-0138A
Part 11 FRAME RH
Article no.: WG-786-0138A
Partie 11 CHASSIS DROITE
Numéro d'article: WG-786-0138A
72,99 €**ohne Abbildung
Teil 14 6KT-MUTTER:5/16-18:GR5
Art.Nr.: WG-712-3010
Part 14 NUT:HEX:5/16-18:GR5
Article no.: WG-712-3010
Partie 14 ECROU HEX. 5/16-18:GR5
Numéro d'article: WG-712-3010
3,03 € Teil 14 6KT-MUTTER:5/16-18:GR5 Art.Nr.: WG-712-3010
inkl. 19 % MwSt. Steuer-Info
zzgl. Versandkosten
Lieferzeit: 3-10 Werktage*
In den Warenkorb

Wenn Sie Hilfe zu einer Störung Ihres MTD Gerätes benötigen, nehmen Sie einfach Kontakt zu uns auf. Sie können gerne auch eine Nachricht per WhatsApp an 0152 560 383 53 senden. Wir helfen Ihnen gerne!

Alle aufgelisteten Ersatzteile sind original MTD Ersatzteile.

Alle Artikel aus der Kategorie Ersatzteile MTD Motorhacke T 330 B 700 Typ: 21C-332Z602 (2012)

Bitte beachten Sie, dass Elektro MTD Ersatzteile nur von Elektrofachkräften nach Vorgabe des Herstellers unter Berücksichtigung der gesetzlichen Vorschriften ersetzt werden dürfen.

Info zu GPSR: Stanley Black & Decker Deutschland GmbH Black-&-Decker-Strasse 40, 65510 Idstein support@blackanddecker.de

    Kategorien
    Ersatzteil-Fee

    Die Ersatzteilfee

    Das rege Interesse an dem Angebot in meinem Onlineshop hat mir gezeigt, dass die Zufriedenheit meiner Kunden sehr groß ist. Zahlreiche positive Kundenmeinungen bestätigen den gut sortierten Aufbau des Shops, die gute Beratung und den zügigen Versand. Mehr über mich...

    Wir helfen Ihnen gerne, das richtige Ersatzteil zu finden. Dazu können Sie uns auch gerne Anfragen oder Fotos vom Ersatzteil/Gerät auf das Handy 0152 560 383 53
    per WhatsApp senden. SMS Nachrichten können nicht empfangen werden!


    Info zur Mehrwertsteuer

    Lieferland wählen

    Wählen Sie das Lieferland aus, um die Preise inkl. MwSt. abhängig von der Lieferadresse angezeigt zu bekommen.



    Die im Shop angegebenen Preise sind in Euro inkl. der deutschen Mehrwertsteuer angegeben.
    Für Bestellungen aus einem anderen EU-Land muss die dort geltende Mehrwertsteuer berechnet werden. Wenn Sie im Warenkorb das Lieferland auswählen, wird Ihnen auch der korrekte Mehrwertsteuersatz zu Ihrem EU-Land angezeigt.