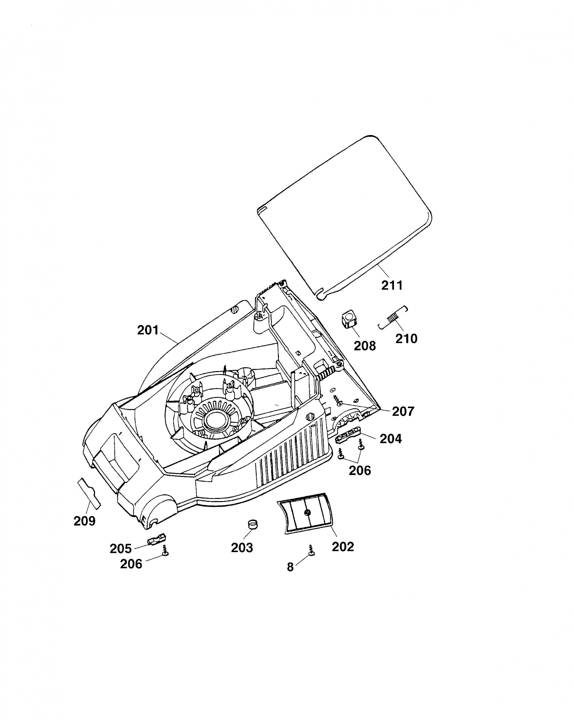
Ersatzteile WOLF-Garten Elektro Rasenmäher ohne Antrieb 2.40 E Typ: 4961680 Serie F  (2007) Mähwerksgehäuse
Für eine größere Ansicht klicken Sie auf das Vorschaubild

Ersatzteile WOLF-Garten Elektro Rasenmäher ohne Antrieb 2.40 E Typ: 4961680 Serie F (2007) Mähwerksgehäuse

WOLF-Garten
WOLF-Garten Art.Nr.: 4961680f-1
Hier können Sie Ersatzteile WOLF-Garten Elektro Rasenmäher ohne Antrieb 2.40 E Typ: 4961680 Serie F (2007) Mähwerksgehäuse einfach online kaufen.

In der Skizze sind die Teile mit einer Zahl gekennzeichnet. Diese finden Sie in der Tabelle wieder und können so das Ersatzteil aus der Tabelle auswählen und online kaufen.


Ersatzteil
deutschenglishfrench
PreisBildkaufen
Teil 102 ZUGFEDER
Art.Nr.: WG-4961109
Part 102 EXTENSION SPRING
Article no.: WG-4961109
Partie 102 ZUGFEDER
Numéro d'article: WG-4961109
5,49 €
Teil 104 SF-SCHR.M5X12-WN1352-N.ZEICHN.
Art.Nr.: WG-0010931
Part 104 SCREW
Article no.: WG-0010931
Partie 104 SF-SCHR.M5X12-WN1352-N.ZEICHN.
Numéro d'article: WG-0010931
2,08 € Teil 104 SF-SCHR.M5X12-WN1352-N.ZEICHN. Art.Nr.: WG-0010931
Teil 105 Stützschale hinten rot (RAL300
Art.Nr.: WG-4961313
Part 105 SHELL
Article no.: WG-4961313
Partie 105 Stützschale hinten rot (RAL300
Numéro d'article: WG-4961313
4,27 € ohne Abbildung
Teil 106 PT-SCHR.K50X25-WN1451-TORX
Art.Nr.: WG-0012631
Part 106 SCREW
Article no.: WG-0012631
Partie 106 VIS POUR OXT
Numéro d'article: WG-0012631
2,62 € Teil 106 PT-SCHR.K50X25-WN1451-TORX Art.Nr.: WG-0012631
Teil 107 Keilriemenabdeckung-rot
Art.Nr.: WG-4961324
Part 107 COVER
Article no.: WG-4961324
Partie 107 COUVERCLE POUR 6.40E/A
Numéro d'article: WG-4961324
4,60 € Teil 107 Keilriemenabdeckung-rot Art.Nr.: WG-4961324
Teil 109 Stützschale vorn rot (RAL3000
Art.Nr.: WG-4961312
Part 109 SHELL
Article no.: WG-4961312
Partie 109 BRIDE DE FIXATION ESPRIT 40
Numéro d'article: WG-4961312
3,12 € Teil 109 Stützschale vorn  rot (RAL3000 Art.Nr.: WG-4961312
Teil 110 WOLF-Garten-Marke (103MM)
Art.Nr.: WG-0051130
Part 110 WOLF GARTEN LABEL
Article no.: WG-0051130
Partie 110 WOLF-GARTEN CLIPS
Numéro d'article: WG-0051130
2,93 € Teil 110 WOLF-Garten-Marke (103MM) Art.Nr.: WG-0051130
inkl. 19 % MwSt. Steuer-Info
zzgl. Versandkosten
Lieferzeit: 3-10 Werktage*
In den Warenkorb

Wenn Sie Hilfe zu einer Störung Ihres WOLF-Garten Gerätes benötigen, nehmen Sie einfach Kontakt zu uns auf. Sie können gerne auch eine Nachricht per WhatsApp an 0152 560 383 53 senden. Wir helfen Ihnen gerne!

Alle aufgelisteten Ersatzteile sind original WOLF-Garten Ersatzteile.

Alle Artikel aus der Kategorie Ersatzteile WOLF-Garten Elektro Rasenmäher ohne Antrieb 2.40 E Typ: 4961680 Serie F (2007)

Bitte beachten Sie, dass Elektro WOLF-Garten Ersatzteile nur von Elektrofachkräften nach Vorgabe des Herstellers unter Berücksichtigung der gesetzlichen Vorschriften ersetzt werden dürfen.

Info zu GPSR: Stanley Black & Decker Deutschland GmbH Black-&-Decker-Strasse 40, 65510 Idstein support@blackanddecker.de

    Kategorien
    Ersatzteil-Fee

    Die Ersatzteilfee

    Das rege Interesse an dem Angebot in meinem Onlineshop hat mir gezeigt, dass die Zufriedenheit meiner Kunden sehr groß ist. Zahlreiche positive Kundenmeinungen bestätigen den gut sortierten Aufbau des Shops, die gute Beratung und den zügigen Versand. Mehr über mich...

    Wir helfen Ihnen gerne, das richtige Ersatzteil zu finden. Dazu können Sie uns auch gerne Anfragen oder Fotos vom Ersatzteil/Gerät auf das Handy 0152 560 383 53
    per WhatsApp senden. SMS Nachrichten können nicht empfangen werden!


    Info zur Mehrwertsteuer

    Lieferland wählen

    Wählen Sie das Lieferland aus, um die Preise inkl. MwSt. abhängig von der Lieferadresse angezeigt zu bekommen.



    Die im Shop angegebenen Preise sind in Euro inkl. der deutschen Mehrwertsteuer angegeben.
    Für Bestellungen aus einem anderen EU-Land muss die dort geltende Mehrwertsteuer berechnet werden. Wenn Sie im Warenkorb das Lieferland auswählen, wird Ihnen auch der korrekte Mehrwertsteuersatz zu Ihrem EU-Land angezeigt.