Einstellungen
Versandland
Ihr Warenkorb ist leer.
Schnellkauf

Bitte geben Sie eine Artikelnummer ein.

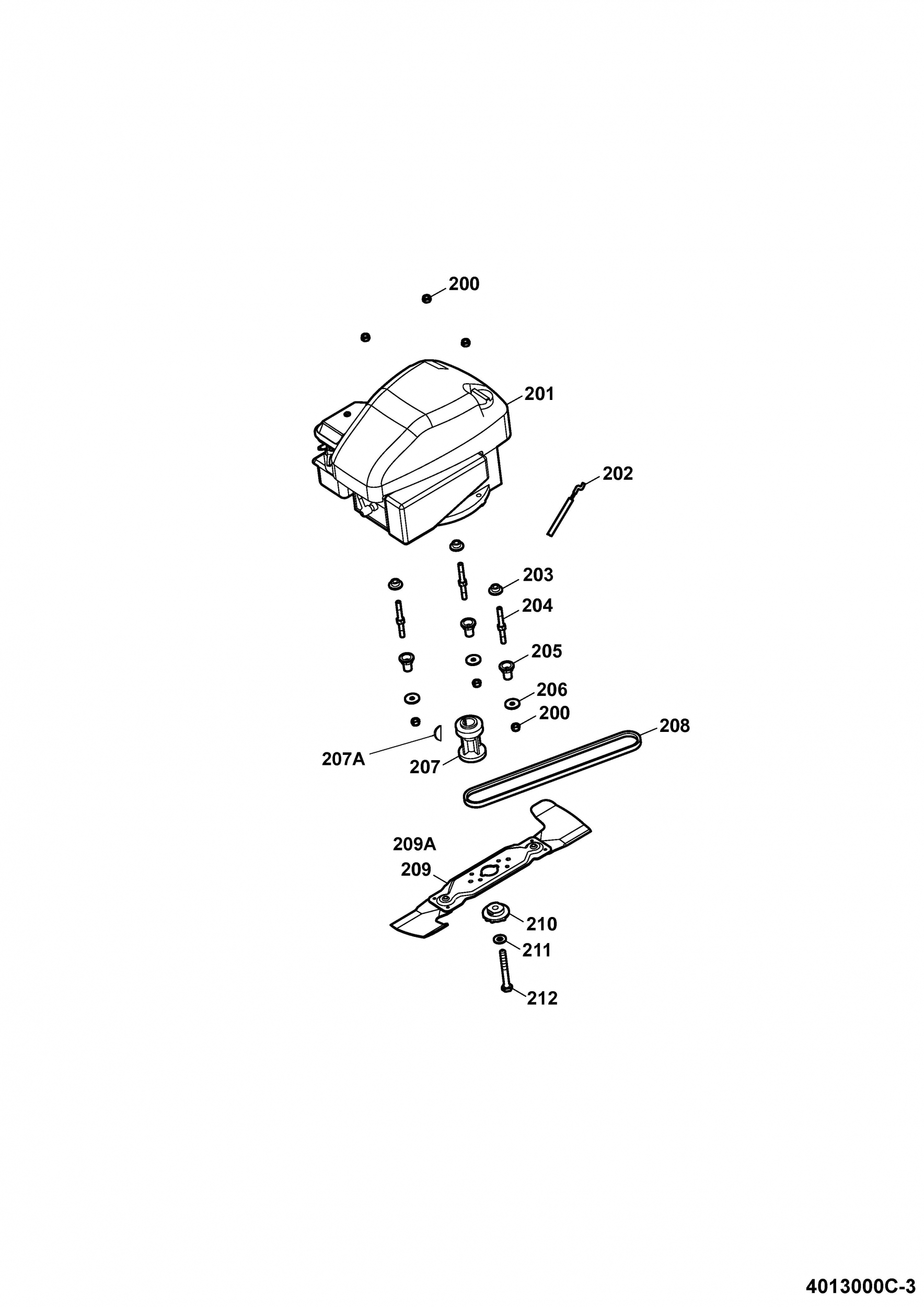
Ersatzteile WOLF-Garten Benzin Rasenmäher mit Antrieb Compact plus 40 BA Typ: 4013000 Serie B (2009) Messer, Messeraufnahme, Motor

WOLF-Garten
Art.Nr.: 4013000C-3
Ersatzteile WOLF-Garten Benzin Rasenmäher mit Antrieb Compact plus 40 BA Typ: 4013000 Serie B (2009) Messer, Messeraufnahme, Motor
Ersatzteile WOLF-Garten Benzin Rasenmäher mit Antrieb Compact plus 40 BA Typ: 4013000 Serie B (2009) Messer, Messeraufnahme, Motor
Lieferzeit: 3-7 Werktage*
Suchen Sie in der Zeichnung nach der Nummer die sie benötigen. Wählen Sie diese dann in der Tabelle aus. Nur die, in der Tabelle aufgeführten Ersatzteile, sind verfügbar.

ErsatzteilPreisBildkaufen
Teil: 200 | Sechskantmutter M8-DIN985-5
WG-712-0692
2,68 € Teil 200 Sechskantmutter M8-DIN985-5 Art.Nr.: WG-712-0692
Teil: 202 | Bowdenzug/Bremse
WG-4008058
36,09 €**Teil 202 Bowdenzug/Bremse Art.Nr.: WG-4008058
Teil: 203 | MOTORBUCHSE
WG-4001176
6,85 €**Teil 203 MOTORBUCHSE Art.Nr.: WG-4001176
Teil: 204 | STEHBOLZEN,KURZ
WG-4001170
Zur Zeit nicht lieferbar
ohne Abbildung
Teil: 205 | Distanzhülse schwarz RAL9005
WG-4601312
3,31 € Teil 205 Distanzhülse schwarz RAL9005 Art.Nr.: WG-4601312
Teil: 207 | Kupplungsbuchse, Antrieb
WG-4605406
20,13 €**Teil 207 Kupplungsbuchse, Antrieb Art.Nr.: WG-4605406
Teil: 207A | SCHEIBENFEDER 5/32*5/8 BRIGGS
WG-714-0365
5,47 € Teil 207A SCHEIBENFEDER 5/32*5/8  BRIGGS Art.Nr.: WG-714-0365
Teil: 208 | KEILRIEMEN FOZ10X6X706LI
WG-0039210
15,49 € Teil 208 KEILRIEMEN FOZ10X6X706LI Art.Nr.: WG-0039210
Teil: 209 | VI 40 W Messerbalken ./D Serv.
WG-4001094
Dieses Produkt wird mir leider nicht mehr angeboten
Teil 209 VI 40 W Messerbalken ./D Serv. Art.Nr.: WG-4001094
Teil: 209A | VI-W Klingen ./D (2er Set)
WG-4350040
18,37 € Teil 209A VI-W Klingen ./D (2er Set) Art.Nr.: WG-4350040
Teil: 210 | Mitnahmescheibe mit Nasen
WG-4005408
9,44 € Teil 210 Mitnahmescheibe mit Nasen Art.Nr.: WG-4005408
Teil: 211 | SPANNSCHEIBE 10-FST-DIN6796-ME
WG-0017105
2,08 € Teil 211 SPANNSCHEIBE 10-FST-DIN6796-ME Art.Nr.: WG-0017105
Teil: 212 | 6KT-SCHR.3/8"-24+3 3/8"-DIN931
WG-0010266
8,84 € Teil 212 6KT-SCHR.3/8
  • Produktbeschreibung
  • Downloads
  • Hersteller Informationen
Produktbeschreibung
Hier können Sie Ersatzteile WOLF-Garten Benzin Rasenmäher mit Antrieb Compact plus 40 BA Typ: 4013000 Serie B (2009) Messer, Messeraufnahme, Motor einfach online kaufen.

In der Skizze sind die Teile mit einer Zahl gekennzeichnet. Diese finden Sie in der Tabelle wieder und können so das Ersatzteil aus der Tabelle auswählen und online kaufen.

Wenn Sie Hilfe bei der Suche nach dem richtigen WOLF-Garten Ersatzteils benötigen, nehmen Sie einfach Kontakt zu uns auf. Sie können gerne auch eine Nachricht per WhatsApp an 0152 560 383 53 senden. Alle aufgelisteten Ersatzteile sind original WOLF-Garten Ersatzteile. Nachbauartikel oder Ersatzartikel von anderen Herstellern sind mit dem Wort Nachbau bzw. Ersatzartikel gekennzeichnet.

Alle Artikel aus der Kategorie Ersatzteile WOLF-Garten Benzin Rasenmäher mit Antrieb Compact plus 40 BA Typ: 4013000 Serie B (2009) einfach online kaufen!

Bitte beachten Sie, dass Elektro WOLF-Garten Ersatzteile nur von Elektrofachkräften nach Vorgabe des Herstellers unter Berücksichtigung der gesetzlichen Vorschriften ersetzt werden dürfen.

Datei
Ersatzteilzeichnung als Pdf hier klicken...Ansehen
Hersteller Informationen
Kontakt Hersteller
Stanley Black & Decker Deutschland GmbH
Black-&-Decker-Strasse 40
65510 Idstein
Germany

support@blackanddecker.de
* gilt für Lieferungen innerhalb Deutschlands, Lieferzeiten für andere Länder entnehmen Sie bitte der Schaltfläche mit den Versandinformationen.
** Die Versandkosten betragen innerhalb Deutschlands für Produkte mit ** Vermerk und KÄRCHER Zubehör 5,90 EUR. Für alle Produkte ohne diesen Vermerk betragen die Versandkosten 4,99 EUR.