Einstellungen
Versandland
Ihr Warenkorb ist leer.
Schnellkauf

Bitte geben Sie eine Artikelnummer ein.

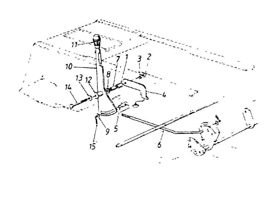
Ersatzteile Super Rasentraktoren Super 12-96 N Typ: 131-659F (1991) Schalthebel

MTD
Art.Nr.: A1990-91-2175-01
Ersatzteile Super Rasentraktoren Super 12-96 N Typ: 131-659F (1991) Schalthebel
Ersatzteile Super Rasentraktoren Super 12-96 N Typ: 131-659F (1991) Schalthebel

ErsatzteilPreisBildkaufen
Teil: 3 | FEDERRING:5/16" NORMALAUSF.
WG-736-0119
3,09 € Teil 3 FEDERRING:5/16
Teil: 5 | SPINDELMUTTER 3/8-24 x.375 DIA
WG-711-0198
12,13 € ohne Abbildung
Teil: 8 | TELLERFEDER:.505X1.015X.050
WG-736-0253
3,57 € ohne Abbildung
Teil: 9 | U-SCHEIBE:0.396 x0.885 x0.060
WG-736-0300
2,56 € Teil 9 U-SCHEIBE:0.396 x0.885 x0.060 Art.Nr.: WG-736-0300
Teil: 11 | HAND-HEBELKNOPF 1.60 OD x 1.56
WG-720-0232
5,87 € Teil 11 HAND-HEBELKNOPF 1.60 OD x 1.56 Art.Nr.: WG-720-0232
Teil: 13 | TELLERFEDER:0.336X0.885X.060
WG-736-0242
3,74 € Teil 13 TELLERFEDER:0.336X0.885X.060 Art.Nr.: WG-736-0242
Teil: 14 | 6KT-SCHR:5/16-18:3.25:GR5:STD
WG-710-3056
6,20 € ohne Abbildung
Teil: 15 | SPLINT:3/32 x 1.0"
WG-714-0111
2,95 € ohne Abbildung
  • Produktbeschreibung
  • Downloads
  • Hersteller Informationen
Produktbeschreibung
Hier können Sie Ersatzteile Super Rasentraktoren Super 12-96 N Typ: 131-659F (1991) Schalthebel einfach online kaufen.

In der Skizze sind die Teile mit einer Zahl gekennzeichnet. Diese finden Sie in der Tabelle wieder und können so das Ersatzteil aus der Tabelle auswählen und online kaufen.

Wenn Sie Hilfe bei der Suche nach dem richtigen MTD Ersatzteils benötigen, nehmen Sie einfach Kontakt zu uns auf. Sie können gerne auch eine Nachricht per WhatsApp an 0152 560 383 53 senden. Alle aufgelisteten Ersatzteile sind original MTD Ersatzteile. Nachbauartikel oder Ersatzartikel von anderen Herstellern sind mit dem Wort Nachbau bzw. Ersatzartikel gekennzeichnet.

Alle Artikel aus der Kategorie Ersatzteile Super Rasentraktoren Super 12-96 N Typ: 131-659F (1991) einfach online kaufen!

Bitte beachten Sie, dass Elektro MTD Ersatzteile nur von Elektrofachkräften nach Vorgabe des Herstellers unter Berücksichtigung der gesetzlichen Vorschriften ersetzt werden dürfen.

Datei
Ersatzteilzeichnung als Pdf hier klicken...Ansehen
Hersteller Informationen
Kontakt Hersteller
Stanley Black & Decker Deutschland GmbH
Black-&-Decker-Strasse 40
65510 Idstein
Germany

support@blackanddecker.de
* gilt für Lieferungen innerhalb Deutschlands, Lieferzeiten für andere Länder entnehmen Sie bitte der Schaltfläche mit den Versandinformationen.
** Die Versandkosten betragen innerhalb Deutschlands für Produkte mit ** Vermerk und KÄRCHER Zubehör 5,90 EUR. Für alle Produkte ohne diesen Vermerk betragen die Versandkosten 4,99 EUR.