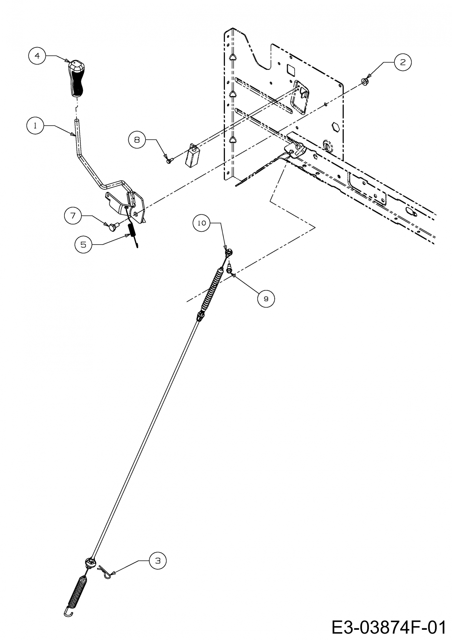
Ersatzteile MTD Rasentraktor MTD 76 Typ: 13H2765C600  (2016) Mähwerkseinschaltung
Für eine größere Ansicht klicken Sie auf das Vorschaubild

Ersatzteile MTD Rasentraktor MTD 76 Typ: 13H2765C600 (2016) Mähwerkseinschaltung

MTD
MTD Art.Nr.: E3-03874F-01
Hier können Sie Ersatzteile MTD Rasentraktor MTD 76 Typ: 13H2765C600 (2016) Mähwerkseinschaltung einfach online kaufen.

In der Skizze sind die Teile mit einer Zahl gekennzeichnet. Diese finden Sie in der Tabelle wieder und können so das Ersatzteil aus der Tabelle auswählen und online kaufen.


Ersatzteil
deutschenglishfrench
PreisBildkaufen
Teil 2 6KT-S-BUNDMUTTER:5/16-18:GRN5
Art.Nr.: WG-712-04063
Part 2 NUT:HEXFLGLK:5/16-18:GRN5:NYL
Article no.: WG-712-04063
Partie 2 ECROU HEX. AVEC FLANC
Numéro d'article: WG-712-04063
4,31 € Teil 2 6KT-S-BUNDMUTTER:5/16-18:GRN5 Art.Nr.: WG-712-04063
Teil 3 FEDERSTECKER:0.094:1.64
Art.Nr.: WG-714-0145
Part 3 PIN:HAIR:0.094:1.64
Article no.: WG-714-0145
Partie 3 GOUPILLE
Numéro d'article: WG-714-0145
2,42 € Teil 3 FEDERSTECKER:0.094:1.64 Art.Nr.: WG-714-0145
Teil 4 HANDGRIFF:3/8
Art.Nr.: WG-720-04049A
Part 4 GRIP:HNDL:3/8
Article no.: WG-720-04049A
Partie 4 POIGNEE PLASTIQUE
Numéro d'article: WG-720-04049A
14,47 € ohne Abbildung
Teil 5 ZUGFEDER:LT-5 PTO
Art.Nr.: WG-732-04276A
Part 5 SPR:EXTN:LT5 PTO
Article no.: WG-732-04276A
Partie 5 RESSORT
Numéro d'article: WG-732-04276A
11,16 € Teil 5 ZUGFEDER:LT-5 PTO Art.Nr.: WG-732-04276A
Teil 7 SHLT-SCHR:0.439x0.175:5/16-18
Art.Nr.: WG-738-0140
Part 7 SCR:SHLDR:0.439X0.175:5/16-18
Article no.: WG-738-0140
Partie 7 VIS A EP.:.435 x.178-5/16 x.56
Numéro d'article: WG-738-0140
6,04 € Teil 7 SHLT-SCHR:0.439x0.175:5/16-18 Art.Nr.: WG-738-0140
Teil 8 SCHULTERSCHRAUBE:0.250x0.165:T
Art.Nr.: WG-738-04237A
Part 8 SCR:SHLDR:0.250X0.165:T
Article no.: WG-738-04237A
Partie 8 AXE EPAULE
Numéro d'article: WG-738-04237A
2,56 € ohne Abbildung
Teil 9 SCHULT-SCHR.345x.330:TT:1/4-28
Art.Nr.: WG-738-04425
Part 9 SCR:SHLDR:0.345X.330:TT:1/4-28
Article no.: WG-738-04425
Partie 9 AXE EPAULE
Numéro d'article: WG-738-04425
2,84 € ohne Abbildung
Teil 10 BOWDENZUG:PTO:F/G
Art.Nr.: WG-746-05436
Part 10 CABLE:ENGAGE W/SEAL:DECK:F/G
Article no.: WG-746-05436
Partie 10 CABLE EMBRAYAGE LAME LT5
Numéro d'article: WG-746-05436
48,05 €**Teil 10 BOWDENZUG:PTO:F/G Art.Nr.: WG-746-05436
inkl. 19 % MwSt. Steuer-Info
zzgl. Versandkosten
Lieferzeit: 3-10 Werktage*
In den Warenkorb

Wenn Sie Hilfe zu einer Störung Ihres MTD Gerätes benötigen, nehmen Sie einfach Kontakt zu uns auf. Sie können gerne auch eine Nachricht per WhatsApp an 0152 560 383 53 senden. Wir helfen Ihnen gerne!

Alle aufgelisteten Ersatzteile sind original MTD Ersatzteile.

Alle Artikel aus der Kategorie Ersatzteile MTD Rasentraktor MTD 76 Typ: 13H2765C600 (2016)

Bitte beachten Sie, dass Elektro MTD Ersatzteile nur von Elektrofachkräften nach Vorgabe des Herstellers unter Berücksichtigung der gesetzlichen Vorschriften ersetzt werden dürfen.

Info zu GPSR: Stanley Black & Decker Deutschland GmbH Black-&-Decker-Strasse 40, 65510 Idstein support@blackanddecker.de

    Kategorien
    Ersatzteil-Fee

    Die Ersatzteilfee

    Das rege Interesse an dem Angebot in meinem Onlineshop hat mir gezeigt, dass die Zufriedenheit meiner Kunden sehr groß ist. Zahlreiche positive Kundenmeinungen bestätigen den gut sortierten Aufbau des Shops, die gute Beratung und den zügigen Versand. Mehr über mich...

    Wir helfen Ihnen gerne, das richtige Ersatzteil zu finden. Dazu können Sie uns auch gerne Anfragen oder Fotos vom Ersatzteil/Gerät auf das Handy 0152 560 383 53
    per WhatsApp senden. SMS Nachrichten können nicht empfangen werden!


    Info zur Mehrwertsteuer

    Lieferland wählen

    Wählen Sie das Lieferland aus, um die Preise inkl. MwSt. abhängig von der Lieferadresse angezeigt zu bekommen.



    Die im Shop angegebenen Preise sind in Euro inkl. der deutschen Mehrwertsteuer angegeben.
    Für Bestellungen aus einem anderen EU-Land muss die dort geltende Mehrwertsteuer berechnet werden. Wenn Sie im Warenkorb das Lieferland auswählen, wird Ihnen auch der korrekte Mehrwertsteuersatz zu Ihrem EU-Land angezeigt.