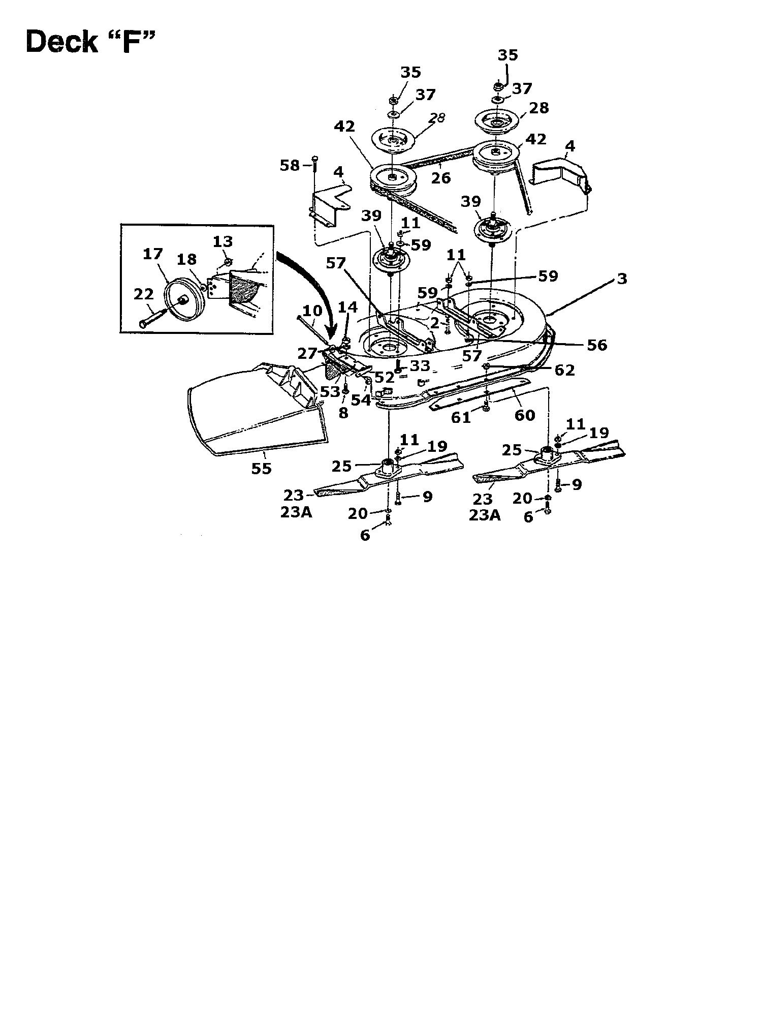
Ersatzteile MTD Rasentraktor B 145 Typ: 136M675F678  (1996) Mähwerk F (38/96cm)
Für eine größere Ansicht klicken Sie auf das Vorschaubild

Ersatzteile MTD Rasentraktor B 145 Typ: 136M675F678 (1996) Mähwerk F (38"/96cm)


Ersatzteil
deutschenglishfrench
PreisBildkaufen
Teil 1 DISTANZHÜLSE .33IDX.88ODX.51LG
Art.Nr.: WG-750-0776
Part 1 SPCR:.33 ID X .88 OD X .51 LG
Article no.: WG-750-0776
Partie 1 ENTRETOISE .33ID X .88OD X .51
Numéro d'article: WG-750-0776
3,95 € ohne Abbildung
Teil 2 6KT-SCHR:5/16-24:1.25:GR5:STD
Art.Nr.: WG-710-0672
Part 2 HHCS:5/16-24:1.25:GR5:STD
Article no.: WG-710-0672
Partie 2 VIS HEX. 5/16-24:1.25:GR5:STD
Numéro d'article: WG-710-0672
3,36 € Teil 2 6KT-SCHR:5/16-24:1.25:GR5:STD Art.Nr.: WG-710-0672
Teil 4 KEILRIEMENSCHUTZ
Art.Nr.: WG-17967
Part 4 USE 16029
Article no.: WG-17967
Partie 4 PROTEGE COURROIE
Numéro d'article: WG-17967
67,77 €**ohne Abbildung
Teil 6 6KT-SCHR:3/8-24:1.00:GR5:STD
Art.Nr.: WG-710-1039
Part 6 SCREW HHCS:3/8-24:1.00:GR5:STD
Article no.: WG-710-1039
Partie 6 VIS HCCS:3/8-24:1.00:GR5:STD
Numéro d'article: WG-710-1039
4,17 € Teil 6 6KT-SCHR:3/8-24:1.00:GR5:STD Art.Nr.: WG-710-1039
Teil 8 SKT-SCHR.1/4-20X.62" LG.
Art.Nr.: WG-710-0258
Part 8 HHCS:1/4-20:.625:GR2:STD
Article no.: WG-710-0258
Partie 8 VIS
Numéro d'article: WG-710-0258
2,88 € ohne Abbildung
Teil 9 SKT-SCHRAUBE
Art.Nr.: WG-710-0888
Part 9 HEX SCR SPECIAL
Article no.: WG-710-0888
Partie 9 VIS HEXAGONAL
Numéro d'article: WG-710-0888
6,32 € Teil 9 SKT-SCHRAUBE Art.Nr.: WG-710-0888
Teil 10 STIFT:SCHARNIER:Ò.25 X 6.75 LG
Art.Nr.: WG-711-0792
Part 10 PIN:HGE: .25 DIA x 6.75 LG
Article no.: WG-711-0792
Partie 10 GOUJON
Numéro d'article: WG-711-0792
13,50 € ohne Abbildung
Teil 11 6KT-MUTTER:5/16-24:GR2
Art.Nr.: WG-712-3057
Part 11 NUT:HEX:5/16-24:GR2
Article no.: WG-712-3057
Partie 11 ÜCROU HEXAGONAL
Numéro d'article: WG-712-3057
3,09 € Teil 11 6KT-MUTTER:5/16-24:GR2 Art.Nr.: WG-712-3057
Teil 13 6KT-RING-S-MUTTER:3/8-16:GR5
Art.Nr.: WG-712-0181
Part 13 NUT:JAMLK:3/8-16:GR5
Article no.: WG-712-0181
Partie 13 ECROU
Numéro d'article: WG-712-0181
3,31 € Teil 13 6KT-RING-S-MUTTER:3/8-16:GR5 Art.Nr.: WG-712-0181
Teil 14 6KT-MUTTER:1/4-20:GR2
Art.Nr.: WG-712-0287
Part 14 NUT:HEX:1/4-20:GR2
Article no.: WG-712-0287
Partie 14 ECROU HEXAGONAL 1/4-20:GR2
Numéro d'article: WG-712-0287
2,73 € ohne Abbildung
Teil 17 DECKRAD:5.0 x 1.38
Art.Nr.: WG-734-06265
Part 17 WHEEL:DECK 5.0 X 1.38
Article no.: WG-734-06265
Partie 17 ROULETTE DE PLATEAU
Numéro d'article: WG-734-06265
9,78 €**
Teil 18 TELLERFEDER:.375X0.880X0.060
Art.Nr.: WG-736-0105
Part 18 WASH:BLVL:0.375X0.880X0.060
Article no.: WG-736-0105
Partie 18 RONDELLE CONIQUE
Numéro d'article: WG-736-0105
3,09 € Teil 18 TELLERFEDER:.375X0.880X0.060 Art.Nr.: WG-736-0105
Teil 19 FEDERRING:5/16" NORMALAUSF.
Art.Nr.: WG-736-0119
Part 19 WASHER:LOCK:5/16:SPLT:REG
Article no.: WG-736-0119
Partie 19 RONDELLE
Numéro d'article: WG-736-0119
3,09 € Teil 19 FEDERRING:5/16
Teil 20 FEDERRING 3/8" SCHW. AUSF.
Art.Nr.: WG-736-0217
Part 20 WASHER:LOCK:3/8:HEAVY DUTY
Article no.: WG-736-0217
Partie 20 RONDELLE GROWER
Numéro d'article: WG-736-0217
2,47 € Teil 20 FEDERRING 3/8
Teil 22 SCHULTERSCHR:.498x1.520:3/8-16
Art.Nr.: WG-738-0373
Part 22 SCR:SHLDR:0.498 X 1.520:3/8-16
Article no.: WG-738-0373
Partie 22 VIS A EPAULE .496x1.525:3/8-16
Numéro d'article: WG-738-0373
7,23 € Teil 22 SCHULTERSCHR:.498x1.520:3/8-16 Art.Nr.: WG-738-0373
Teil 23 MESSER 19,38" 49.22CM
Art.Nr.: WG-742-0473A
Part 23 BLADE-19.38IN
Article no.: WG-742-0473A
Partie 23 LAME COUPE 96CM LATERALE < 96
Numéro d'article: WG-742-0473A
26,91 €**ohne Abbildung
Teil 23A HIGH-LIFT-MESSER 19.38"/96cm
Art.Nr.: WG-742-0504
Part 23A BLADE-19.38IN-EXPORT
Article no.: WG-742-0504
Partie 23A LAME EXTRA-SFF COUPE 96CM 3T
Numéro d'article: WG-742-0504
28,35 €**ohne Abbildung
Teil 25 MITNEHMER M.KERBVERZ.
Art.Nr.: WG-748-0300
Part 25 ADAP:BLADE
Article no.: WG-748-0300
Partie 25 SUPPORT DE LAME 3T AUTOPORTEES
Numéro d'article: WG-748-0300
17,73 €
Teil 26 KEILRIEMEN 71"
Art.Nr.: WG-754-0427
Part 26 BELT-V
Article no.: WG-754-0427
Partie 26 COURROIE DE LAME COUPE 96CM
Numéro d'article: WG-754-0427
49,94 €**ohne Abbildung
Teil 27 TELLERFEDER:0.260x0.755x.062
Art.Nr.: WG-736-0270
Part 27 WASH:BLVL:0.260X0.755X0.062
Article no.: WG-736-0270
Partie 27 RONDELLE GROWER
Numéro d'article: WG-736-0270
3,09 € Teil 27 TELLERFEDER:0.260x0.755x.062 Art.Nr.: WG-736-0270
Teil 33 6KT-SCHR:5/16-24:.75 GR5 STD
Art.Nr.: WG-710-0157
Part 33 HHCS:5/16-24:.75:GR5:STD
Article no.: WG-710-0157
Partie 33 VIS HEX.:5/16-24:.75 GR5 STD
Numéro d'article: WG-710-0157
4,72 € Teil 33 6KT-SCHR:5/16-24:.75 GR5 STD Art.Nr.: WG-710-0157
Teil 33 6KT-SCHR:5/16-24:.75 GR5 STD
Art.Nr.: WG-710-0157
Part 33 HHCS:5/16-24:.75:GR5:STD
Article no.: WG-710-0157
Partie 33 VIS HEX.:5/16-24:.75 GR5 STD
Numéro d'article: WG-710-0157
4,72 € Teil 33 6KT-SCHR:5/16-24:.75 GR5 STD Art.Nr.: WG-710-0157
Teil 35 SKT-STOP-MUTTER:5/8-18:GR.2
Art.Nr.: WG-712-0318
Dieses Produkt wird mir leider nicht mehr angeboten
Part 35 NUT:JAM:5/8-18:GR2
Article no.: WG-712-0318
no longer available
Partie 35 ECROU
Numéro d'article: WG-712-0318
plus disponible
ohne Abbildung
Teil 37 FEDERRING:5/8" NORMALAUSF.
Art.Nr.: WG-736-0158
Part 37 WASHER:LOCK:5/8:SPLT:REG
Article no.: WG-736-0158
Partie 37 RONDELLE GROWER
Numéro d'article: WG-736-0158
3,09 € ohne Abbildung
Teil 39 MESSERWELLE VOLLST.
Art.Nr.: WG-917-0906A
Zur Zeit nicht lieferbar
Part 39 SPINDLE ASSY-BLADE (
Article no.: WG-917-0906A
currently not available
Partie 39 PALIER COMPLET 96/107 CM
Numéro d'article: WG-917-0906A
actuellement indisponible
ohne Abbildung
Teil 42 KEILRIEMENSCHEIBE
Art.Nr.: WG-756-0556
Part 42 PULLEY
Article no.: WG-756-0556
Partie 42 POULIE
Numéro d'article: WG-756-0556
38,08 €**ohne Abbildung
Teil 52 ANSCHLUßPLATTE
Art.Nr.: WG-703-1693
Part 52 CONNECTING PLATE
Article no.: WG-703-1693
Partie 52 PLAQUE DE RACCORDEMENT
Numéro d'article: WG-703-1693
29,43 €**ohne Abbildung
Teil 54 AUFDRUCKKAPPE:1/4" (STANGE)
Art.Nr.: WG-726-0106
Part 54 CAP:PUSH:1/4
Article no.: WG-726-0106
Partie 54 COUVERCLE 1/4 "
Numéro d'article: WG-726-0106
3,09 € ohne Abbildung
Teil 55 AUSWURFKLAPPE VOLLST.
Art.Nr.: WG-631-05229
Part 55 CHUT ASM:DECK
Article no.: WG-631-05229
Partie 55 CLAPET D ÜJECTION
Numéro d'article: WG-631-05229
43,05 €**Teil 55 AUSWURFKLAPPE VOLLST. Art.Nr.: WG-631-05229
Teil 58 6KT-SCHRAUBE:TT:1/4-20:0.500
Art.Nr.: WG-710-0599
Part 58 SCREW:TT:1/4-20:0.500:HXINDWSH
Article no.: WG-710-0599
Partie 58 VIS A SIX PANS CREUX
Numéro d'article: WG-710-0599
4,58 € Teil 58 6KT-SCHRAUBE:TT:1/4-20:0.500 Art.Nr.: WG-710-0599
Teil 59 TELLERFEDER:0.336X0.885X.060
Art.Nr.: WG-736-0242
Part 59 WASH:BLVL:0.336X0.885X0.060
Article no.: WG-736-0242
Partie 59 RONDELLE CONIQUE.340X.872X.060
Numéro d'article: WG-736-0242
3,74 € Teil 59 TELLERFEDER:0.336X0.885X.060 Art.Nr.: WG-736-0242
Teil 61 FL-RUNDSCHR:1/4-20:.50"GRADE A
Art.Nr.: WG-710-0167
Part 61 SCR:CRG:1/4-20:.50:
Article no.: WG-710-0167
Partie 61 VIS 1/4-20x.50" GR 1
Numéro d'article: WG-710-0167
2,61 € ohne Abbildung
Teil 62 6KT-MUTTER 1/4-20"+ZAHNSCHEIBE
Art.Nr.: WG-712-0271
Part 62 NUT:HEXKEPS:1/4-20:GR5
Article no.: WG-712-0271
Partie 62 ECROU 1/4-20"+ DISQUE DENTE
Numéro d'article: WG-712-0271
2,68 € ohne Abbildung
inkl. 19 % MwSt. Steuer-Info
zzgl. Versandkosten
Lieferzeit: 3-10 Werktage*
In den Warenkorb

Wenn Sie Hilfe zu einer Störung Ihres MTD Gerätes benötigen, nehmen Sie einfach Kontakt zu uns auf. Sie können gerne auch eine Nachricht per WhatsApp an 0152 560 383 53 senden. Wir helfen Ihnen gerne!

Alle aufgelisteten Ersatzteile sind original MTD Ersatzteile.

Alle Artikel aus der Kategorie Ersatzteile MTD Rasentraktor B 145 Typ: 136M675F678 (1996)

Bitte beachten Sie, dass Elektro MTD Ersatzteile nur von Elektrofachkräften nach Vorgabe des Herstellers unter Berücksichtigung der gesetzlichen Vorschriften ersetzt werden dürfen.

Info zu GPSR: Stanley Black & Decker Deutschland GmbH Black-&-Decker-Strasse 40, 65510 Idstein support@blackanddecker.de

    Kategorien
    Ersatzteil-Fee

    Die Ersatzteilfee

    Das rege Interesse an dem Angebot in meinem Onlineshop hat mir gezeigt, dass die Zufriedenheit meiner Kunden sehr groß ist. Zahlreiche positive Kundenmeinungen bestätigen den gut sortierten Aufbau des Shops, die gute Beratung und den zügigen Versand. Mehr über mich...

    Wir helfen Ihnen gerne, das richtige Ersatzteil zu finden. Dazu können Sie uns auch gerne Anfragen oder Fotos vom Ersatzteil/Gerät auf das Handy 0152 560 383 53
    per WhatsApp senden. SMS Nachrichten können nicht empfangen werden!


    Info zur Mehrwertsteuer

    Lieferland wählen

    Wählen Sie das Lieferland aus, um die Preise inkl. MwSt. abhängig von der Lieferadresse angezeigt zu bekommen.



    Die im Shop angegebenen Preise sind in Euro inkl. der deutschen Mehrwertsteuer angegeben.
    Für Bestellungen aus einem anderen EU-Land muss die dort geltende Mehrwertsteuer berechnet werden. Wenn Sie im Warenkorb das Lieferland auswählen, wird Ihnen auch der korrekte Mehrwertsteuersatz zu Ihrem EU-Land angezeigt.