Ersatzteile MTD Rasentraktor 8/66 Typ: 139-5020  (1989) Mähwerk 26/66cm
Für eine größere Ansicht klicken Sie auf das Vorschaubild

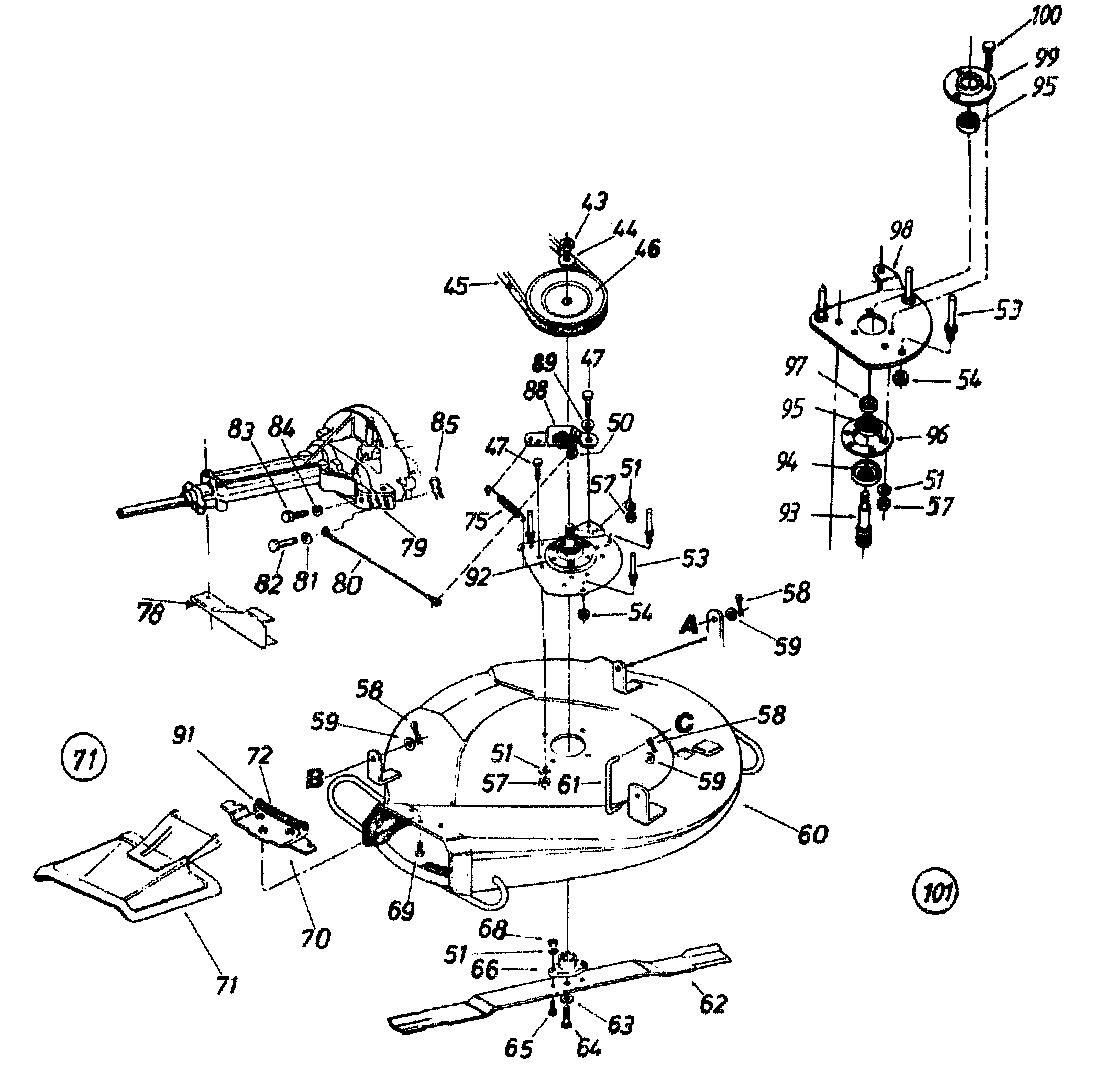
Ersatzteile MTD Rasentraktor 8/66 Typ: 139-5020 (1989) Mähwerk 26"/66cm

MTD
MTD Art.Nr.: A1988-89-1138-02
Hier können Sie Ersatzteile MTD Rasentraktor 8/66 Typ: 139-5020 (1989) Mähwerk 26"/66cm einfach online kaufen.

In der Skizze sind die Teile mit einer Zahl gekennzeichnet. Diese finden Sie in der Tabelle wieder und können so das Ersatzteil aus der Tabelle auswählen und online kaufen.


Ersatzteil
deutschenglishfrench
PreisBildkaufen
Teil 43 SKT-STOP-MUTTER:5/8-18:GR.2
Art.Nr.: WG-712-0318
Dieses Produkt wird mir leider nicht mehr angeboten
Part 43 NUT:JAM:5/8-18:GR2
Article no.: WG-712-0318
no longer available
Partie 43 ECROU
Numéro d'article: WG-712-0318
plus disponible
ohne Abbildung
Teil 44 TELLERFEDER:.630x1.260x.180 *
Art.Nr.: WG-736-0317
Part 44 WASH:BLVL:0.630x1.260x0.180
Article no.: WG-736-0317
Partie 44 RONDELLE
Numéro d'article: WG-736-0317
7,37 € ohne Abbildung
Teil 45 KEILRIEMEN 1/2X52"
Art.Nr.: WG-754-0264
Part 45 BELT-V
Article no.: WG-754-0264
Partie 45 COURROIE
Numéro d'article: WG-754-0264
29,32 €**Teil 45 KEILRIEMEN 1/2X52
Teil 47 6KT-SCHR.5/16-18:.75:GR2:STD
Art.Nr.: WG-710-0118
Part 47 HHCS:5/16-18:.75:GR2:STD
Article no.: WG-710-0118
Partie 47 VIS
Numéro d'article: WG-710-0118
2,68 € ohne Abbildung
Teil 47 6KT-SCHR.5/16-18:.75:GR2:STD
Art.Nr.: WG-710-0118
Part 47 HHCS:5/16-18:.75:GR2:STD
Article no.: WG-710-0118
Partie 47 VIS
Numéro d'article: WG-710-0118
2,68 € ohne Abbildung
Teil 50 AUFDRUCKKAPPE:1/4" (STANGE)
Art.Nr.: WG-726-0106
Part 50 CAP:PUSH:1/4
Article no.: WG-726-0106
Partie 50 COUVERCLE 1/4 "
Numéro d'article: WG-726-0106
3,09 € ohne Abbildung
Teil 50 AUFDRUCKKAPPE:1/4" (STANGE)
Art.Nr.: WG-726-0106
Part 50 CAP:PUSH:1/4
Article no.: WG-726-0106
Partie 50 COUVERCLE 1/4 "
Numéro d'article: WG-726-0106
3,09 € ohne Abbildung
Teil 51 FEDERRING:5/16" NORMALAUSF.
Art.Nr.: WG-736-0119
Part 51 WASHER:LOCK:5/16:SPLT:REG
Article no.: WG-736-0119
Partie 51 RONDELLE
Numéro d'article: WG-736-0119
3,09 € Teil 51 FEDERRING:5/16
Teil 54 SKT-STOP-MUTTER 3/8-16"
Art.Nr.: WG-712-0342
Part 54 NUT-HEX CENTER L-JAM
Article no.: WG-712-0342
Partie 54 ECROU
Numéro d'article: WG-712-0342
2,84 € ohne Abbildung
Teil 58 FEDERSTECKER:0.094:1.64
Art.Nr.: WG-714-0145
Part 58 PIN:HAIR:0.094:1.64
Article no.: WG-714-0145
Partie 58 GOUPILLE
Numéro d'article: WG-714-0145
2,42 € Teil 58 FEDERSTECKER:0.094:1.64 Art.Nr.: WG-714-0145
Teil 59 U-SCHEIBE:0.396 x0.885 x0.060
Art.Nr.: WG-736-0300
Part 59 WASH:FLAT:0.396X0.885X0.060
Article no.: WG-736-0300
Partie 59 RONDELLE
Numéro d'article: WG-736-0300
2,56 € Teil 59 U-SCHEIBE:0.396 x0.885 x0.060 Art.Nr.: WG-736-0300
Teil 62 SCHNEIDMESSER 26"
Art.Nr.: WG-742-0255A
Zur Zeit nicht lieferbar
Part 62 BLADE-26"
Article no.: WG-742-0255A
currently not available
Partie 62 LAME 26"
Numéro d'article: WG-742-0255A
actuellement indisponible
ohne Abbildung
Teil 63 TELLERFEDER:.390x 1.380x.062
Art.Nr.: WG-736-0356
Part 63 WASH:BLVL:.390 x 1.380 x .062
Article no.: WG-736-0356
Partie 63 RONDELLE
Numéro d'article: WG-736-0356
3,09 € ohne Abbildung
Teil 63 TELLERFEDER:.390x 1.380x.062
Art.Nr.: WG-736-0356
Part 63 WASH:BLVL:.390 x 1.380 x .062
Article no.: WG-736-0356
Partie 63 RONDELLE
Numéro d'article: WG-736-0356
3,09 € ohne Abbildung
Teil 65 SKT-SCHRAUBE
Art.Nr.: WG-710-0888
Part 65 HEX SCR SPECIAL
Article no.: WG-710-0888
Partie 65 VIS HEXAGONAL
Numéro d'article: WG-710-0888
6,32 € Teil 65 SKT-SCHRAUBE Art.Nr.: WG-710-0888
Teil 66 MITNEHMER M.KERBVERZ.
Art.Nr.: WG-748-0300
Part 66 ADAP:BLADE
Article no.: WG-748-0300
Partie 66 SUPPORT DE LAME 3T AUTOPORTEES
Numéro d'article: WG-748-0300
17,73 €
Teil 68 6KT-MUTTER:5/16-24:GR2
Art.Nr.: WG-712-3057
Part 68 NUT:HEX:5/16-24:GR2
Article no.: WG-712-3057
Partie 68 ÜCROU HEXAGONAL
Numéro d'article: WG-712-3057
3,09 € Teil 68 6KT-MUTTER:5/16-24:GR2 Art.Nr.: WG-712-3057
Teil 69 6KT-SCHRAUBE:TT:1/4-20:0.500
Art.Nr.: WG-710-0599
Part 69 SCREW:TT:1/4-20:0.500:HXINDWSH
Article no.: WG-710-0599
Partie 69 VIS A SIX PANS CREUX
Numéro d'article: WG-710-0599
4,58 € Teil 69 6KT-SCHRAUBE:TT:1/4-20:0.500 Art.Nr.: WG-710-0599
Teil 81 U-SCHEIBE:0.276x0.515x0.063
Art.Nr.: WG-736-0142
Part 81 WASH:FLAT:0.276X0.515x0.063
Article no.: WG-736-0142
Partie 81 RONDELLE PLATE 1/4X.500X . 063
Numéro d'article: WG-736-0142
3,09 € ohne Abbildung
Teil 82 ABSTECKBOLZEN:.248X.341X.109
Art.Nr.: WG-711-0701
Part 82 PIN:CLV:0.248X0.341X0.109
Article no.: WG-711-0701
Partie 82 GOUJON
Numéro d'article: WG-711-0701
3,21 € Teil 82 ABSTECKBOLZEN:.248X.341X.109 Art.Nr.: WG-711-0701
Teil 83 SKT-SCHR.1/4-20X.62" LG.
Art.Nr.: WG-710-0258
Part 83 HHCS:1/4-20:.625:GR2:STD
Article no.: WG-710-0258
Partie 83 VIS
Numéro d'article: WG-710-0258
2,88 € ohne Abbildung
Teil 84 FEDERRING:1/4" NORMALAUSF.
Art.Nr.: WG-736-0329
Part 84 WASH:LOCK:1/4:SPLT:REG
Article no.: WG-736-0329
Partie 84 RONDELLE GROWER
Numéro d'article: WG-736-0329
2,95 € ohne Abbildung
Teil 85 FEDERSTECKER:.072DIA x 1.13 LG
Art.Nr.: WG-714-0104
Part 85 PIN:COT:.072 DIA x 1.13 LG
Article no.: WG-714-0104
Partie 85 GOUPILLE
Numéro d'article: WG-714-0104
2,42 € Teil 85 FEDERSTECKER:.072DIA x 1.13 LG Art.Nr.: WG-714-0104
Teil 89 SCHULTERBUCHSE:0.315X0.50X0.14
Art.Nr.: WG-748-0234
Part 89 SPCR:SHLDR:0.315X0.500X0.140
Article no.: WG-748-0234
Partie 89 RONDELLE EPAULEE
Numéro d'article: WG-748-0234
5,58 € ohne Abbildung
Teil 94 LAGERSCHUTZ
Art.Nr.: WG-13703
Part 94 SHLD:BRG
Article no.: WG-13703
Partie 94 RONDELLE
Numéro d'article: WG-13703
8,07 € Teil 94 LAGERSCHUTZ Art.Nr.: WG-13703
Teil 95 KUGELLAGER:.787IDx1.85OD x.551
Art.Nr.: WG-741-0919B
Part 95 BRG:BALL:.787IDx1.85ODx.551
Article no.: WG-741-0919B
Partie 95 ROULEMENT ¡ BILLES
Numéro d'article: WG-741-0919B
30,00 €**Teil 95 KUGELLAGER:.787IDx1.85OD x.551 Art.Nr.: WG-741-0919B
Teil 97 DISTANZSCHEIBE .790 ID X.347LG
Art.Nr.: WG-750-0456
Part 97 SPACER .790 ID X .347 LG.
Article no.: WG-750-0456
Partie 97 ENTRETOISE
Numéro d'article: WG-750-0456
7,23 € Teil 97 DISTANZSCHEIBE .790 ID X.347LG Art.Nr.: WG-750-0456
inkl. 19 % MwSt. Steuer-Info
zzgl. Versandkosten
Lieferzeit: 3-10 Werktage*
In den Warenkorb

Wenn Sie Hilfe zu einer Störung Ihres MTD Gerätes benötigen, nehmen Sie einfach Kontakt zu uns auf. Sie können gerne auch eine Nachricht per WhatsApp an 0152 560 383 53 senden. Wir helfen Ihnen gerne!

Alle aufgelisteten Ersatzteile sind original MTD Ersatzteile.

Alle Artikel aus der Kategorie Ersatzteile MTD Rasentraktor 8/66 Typ: 139-5020 (1989)

Bitte beachten Sie, dass Elektro MTD Ersatzteile nur von Elektrofachkräften nach Vorgabe des Herstellers unter Berücksichtigung der gesetzlichen Vorschriften ersetzt werden dürfen.

Info zu GPSR: Stanley Black & Decker Deutschland GmbH Black-&-Decker-Strasse 40, 65510 Idstein support@blackanddecker.de

    Kategorien
    Ersatzteil-Fee

    Die Ersatzteilfee

    Das rege Interesse an dem Angebot in meinem Onlineshop hat mir gezeigt, dass die Zufriedenheit meiner Kunden sehr groß ist. Zahlreiche positive Kundenmeinungen bestätigen den gut sortierten Aufbau des Shops, die gute Beratung und den zügigen Versand. Mehr über mich...

    Wir helfen Ihnen gerne, das richtige Ersatzteil zu finden. Dazu können Sie uns auch gerne Anfragen oder Fotos vom Ersatzteil/Gerät auf das Handy 0152 560 383 53
    per WhatsApp senden. SMS Nachrichten können nicht empfangen werden!


    Info zur Mehrwertsteuer

    Lieferland wählen

    Wählen Sie das Lieferland aus, um die Preise inkl. MwSt. abhängig von der Lieferadresse angezeigt zu bekommen.



    Die im Shop angegebenen Preise sind in Euro inkl. der deutschen Mehrwertsteuer angegeben.
    Für Bestellungen aus einem anderen EU-Land muss die dort geltende Mehrwertsteuer berechnet werden. Wenn Sie im Warenkorb das Lieferland auswählen, wird Ihnen auch der korrekte Mehrwertsteuersatz zu Ihrem EU-Land angezeigt.