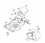
Ersatzteile MTD Laubbläser Laubsauger 685 Typ: 244-685-678  (1994) Fangsack, Holm, Räder
Für eine größere Ansicht klicken Sie auf das Vorschaubild

Ersatzteile MTD Laubbläser Laubsauger 685 Typ: 244-685-678 (1994) Fangsack, Holm, Räder

MTD
MTD Art.Nr.: A1997-5733-177
Hier können Sie Ersatzteile MTD Laubbläser Laubsauger 685 Typ: 244-685-678 (1994) Fangsack, Holm, Räder einfach online kaufen.

In der Skizze sind die Teile mit einer Zahl gekennzeichnet. Diese finden Sie in der Tabelle wieder und können so das Ersatzteil aus der Tabelle auswählen und online kaufen.


Ersatzteil
deutschenglishfrench
PreisBildkaufen
Teil 2 ABSTECKBOLZEN:3/8 DIA
Art.Nr.: WG-711-0679
Part 2 PIN:CLEVIS 3/8 DIA
Article no.: WG-711-0679
Partie 2 BOLT .375 X 1.88"
Numéro d'article: WG-711-0679
6,90 € ohne Abbildung
Teil 8 VIERKANTKEIL:1/4 x 1/4:2.00
Art.Nr.: WG-714-0114
Part 8 KEY:SQ:1/4:2.00
Article no.: WG-714-0114
Partie 8 CLAVETTE
Numéro d'article: WG-714-0114
5,24 € Teil 8 VIERKANTKEIL:1/4 x 1/4:2.00 Art.Nr.: WG-714-0114
Teil 10 SKT-SCHR.5/16-18X1.50"
Art.Nr.: WG-710-0442
Part 10 HEX BOLT 5/16-18X1.5"
Article no.: WG-710-0442
Partie 10 VIS EX AF-43080
Numéro d'article: WG-710-0442
9,57 € ohne Abbildung
Teil 11 KEILRIEMEN 1/2X26"
Art.Nr.: WG-754-0219
Part 11 BELT-V
Article no.: WG-754-0219
Partie 11 COURROIE 1/2 X 26"
Numéro d'article: WG-754-0219
20,27 € Teil 11 KEILRIEMEN 1/2X26
Teil 12 FEDERRING:5/16" NORMALAUSF.
Art.Nr.: WG-736-0119
Part 12 WASHER:LOCK:5/16:SPLT:REG
Article no.: WG-736-0119
Partie 12 RONDELLE
Numéro d'article: WG-736-0119
3,09 € Teil 12 FEDERRING:5/16
Teil 15 SPLINT:1/8 x 1.0"
Art.Nr.: WG-714-0115
Part 15 PIN:COT:SPLIT:1/8 X 1.0
Article no.: WG-714-0115
Partie 15 GOUPILLE FENDUE 1/8 x 1.0
Numéro d'article: WG-714-0115
3,21 € ohne Abbildung
Teil 16 U-SCHEIBE:0.630x1.250x0.060:HD
Art.Nr.: WG-736-0187
Part 16 WASH:FLAT:0.630X1.250X0.060:HD
Article no.: WG-736-0187
Partie 16 RONDELLE .64X1.24X.06
Numéro d'article: WG-736-0187
3,09 € Teil 16 U-SCHEIBE:0.630x1.250x0.060:HD Art.Nr.: WG-736-0187
Teil 17 FEDERRING:1/2"
Art.Nr.: WG-736-0921
Part 17 WASHER:LOCK:1/2:SPLT:REG
Article no.: WG-736-0921
Partie 17 RONDELLE GROWER
Numéro d'article: WG-736-0921
3,03 € ohne Abbildung
Teil 18 6KT-MUTTER:1/2-13:GR5
Art.Nr.: WG-712-0206
Part 18 NUT:HEX:1/2-13:GR5
Article no.: WG-712-0206
Partie 18 ECROU HEX. 1/2-13:GR.5
Numéro d'article: WG-712-0206
3,21 € Teil 18 6KT-MUTTER:1/2-13:GR5 Art.Nr.: WG-712-0206
Teil 21 RAD KPL.
Art.Nr.: WG-734-1036
Part 21 ASS Y, WHEEL & TIRE (A-F)
Article no.: WG-734-1036
Partie 21 ROUE COMPL
Numéro d'article: WG-734-1036
83,87 €**ohne Abbildung
Teil 23 SICHERUNGSRING:.500 DIA WELLE
Art.Nr.: WG-716-0104
Part 23 E-RING:.500 DIA SHAFT
Article no.: WG-716-0104
Partie 23 CIRCLIPS:.500 DIA ARBRE
Numéro d'article: WG-716-0104
3,14 € ohne Abbildung
Teil 25 FLANSCHLAGER .503"
Art.Nr.: WG-748-0142
Part 25 FLANGE BEARING
Article no.: WG-748-0142
Partie 25 PALIER DE BRIDE
Numéro d'article: WG-748-0142
18,40 € ohne Abbildung
Teil 30 SKT-FLANSCHLAGER .630"
Art.Nr.: WG-748-0227A
Part 30 BEARING-HEX FLANGE
Article no.: WG-748-0227A
Partie 30 BAGUE HEXAGONALE BRONZE
Numéro d'article: WG-748-0227A
7,70 € ohne Abbildung
Teil 41 SPANNHÜLSE:3/16 x 1.25 LG
Art.Nr.: WG-715-0246
Part 41 PIN:3/16" X"1.25" LG
Article no.: WG-715-0246
Partie 41 GOUPILLE (SPIR. RESSORT)
Numéro d'article: WG-715-0246
3,95 € ohne Abbildung
Teil 42 6KT-SCHR:AB:5/16-12:0.750
Art.Nr.: WG-710-0726
Part 42 SCR:AB:5/16-12:0.750:HXINDWSH
Article no.: WG-710-0726
Partie 42 VIS 5/16-12:0.750:HXINDWS
Numéro d'article: WG-710-0726
3,09 € Teil 42 6KT-SCHR:AB:5/16-12:0.750 Art.Nr.: WG-710-0726
Teil 49 RITZEL
Art.Nr.: WG-748-0288
Part 49 PINION-DRIVE
Article no.: WG-748-0288
Partie 49 PIGNON
Numéro d'article: WG-748-0288
26,60 €**Teil 49 RITZEL Art.Nr.: WG-748-0288
Teil 50 SKT-KL.SCHR.5/16-24X.62"
Art.Nr.: WG-710-0170
Part 50 SCREW-HEX
Article no.: WG-710-0170
Partie 50 VIS
Numéro d'article: WG-710-0170
9,50 € ohne Abbildung
Teil 51 U-SCHEIBE:0.339x0.890x0.063
Art.Nr.: WG-736-0159
Part 51 WASH:FLAT:0.339X0.890X0.063
Article no.: WG-736-0159
Partie 51 RONDELLE .349 X 88X.06"
Numéro d'article: WG-736-0159
3,09 € ohne Abbildung
Teil 53 RAD KPL. 12X3.0 VG
Art.Nr.: WG-734-1035
Part 53 WHEEL ASSY W/TIRE
Article no.: WG-734-1035
Partie 53 ROUE COMPL 12X3,0 VG
Numéro d'article: WG-734-1035
137,38 €**Teil 53 RAD KPL. 12X3.0 VG Art.Nr.: WG-734-1035
Teil 55 6KT-SCHR.5/16-18:.75:GR2:STD
Art.Nr.: WG-710-0118
Part 55 HHCS:5/16-18:.75:GR2:STD
Article no.: WG-710-0118
Partie 55 VIS
Numéro d'article: WG-710-0118
2,68 € ohne Abbildung
Teil 58 U-SCHEIBE:0.380x0.630x0.033
Art.Nr.: WG-736-0117
Part 58 WASH:FLAT:0.380 x0.630 x0.033
Article no.: WG-736-0117
Partie 58 RONDELLE 3/8X.620X.033
Numéro d'article: WG-736-0117
2,73 € ohne Abbildung
Teil 61 6KT-SCHR.1/4-20:1.75" GR5:STD
Art.Nr.: WG-710-0136
Part 61 HHCS:1/4-20:1.75:GR5:STD
Article no.: WG-710-0136
Partie 61 VIS A SIX PANS CREUX
Numéro d'article: WG-710-0136
2,61 € ohne Abbildung
Teil 62 FANGSACK FÜR 685
Art.Nr.: WG-764-0162A
Part 62 BAG-VACUUM FELT
Article no.: WG-764-0162A
Partie 62 SAC FEUTRINE POUR 685
Numéro d'article: WG-764-0162A
256,42 €**ohne Abbildung
Teil 62A FANGS. NASSGUT VACUJETSTAR 685
Art.Nr.: WG-764-2002E
Part 62A PILLOW BAG
Article no.: WG-764-2002E
Partie 62A SAC ¡ FEUILLES MORTES
Numéro d'article: WG-764-2002E
271,28 €**Teil 62A FANGS. NASSGUT VACUJETSTAR 685 Art.Nr.: WG-764-2002E
Teil 63 SCHLAGMUTTER
Art.Nr.: WG-1539-003
Part 63 NUT
Article no.: WG-1539-003
Partie 63 CLIPS EX 1539-039
Numéro d'article: WG-1539-003
9,52 € ohne Abbildung
Teil 66 AUFDRUCKKAPPE 3/8": STANGE
Art.Nr.: WG-726-0100
Part 66 CAP
Article no.: WG-726-0100
Partie 66 COUVERCLE
Numéro d'article: WG-726-0100
2,95 € Teil 66 AUFDRUCKKAPPE 3/8
Teil 67 BOLZEN .250X1.75" LG.
Art.Nr.: WG-711-0737
Part 67 PIN:STUD $r.250 X 1.75
Article no.: WG-711-0737
Partie 67 GOUPILLE .250 X 1,75" LG
Numéro d'article: WG-711-0737
9,61 € ohne Abbildung
Teil 69 FEDERSTECKER:0.094:1.64
Art.Nr.: WG-714-0145
Part 69 PIN:HAIR:0.094:1.64
Article no.: WG-714-0145
Partie 69 GOUPILLE
Numéro d'article: WG-714-0145
2,42 € Teil 69 FEDERSTECKER:0.094:1.64 Art.Nr.: WG-714-0145
Teil 72 SPANNHÜLSE 5/32X1.12"
Art.Nr.: WG-715-0249
Part 72 PIN-SPRING ROLL 5/32X1.12"
Article no.: WG-715-0249
Partie 72 DOUILLE DE SERRAGE 5/32X1.12"
Numéro d'article: WG-715-0249
14,65 € ohne Abbildung
Teil 74 FEDERSCHEIBE:.265 x.562 x.025
Art.Nr.: WG-736-0175
Part 74 SPRING WASHER:.265 x.562 x.025
Article no.: WG-736-0175
Partie 74 RONDELLE GROWER:.265x.562x.025
Numéro d'article: WG-736-0175
2,88 € ohne Abbildung
Teil 77 6KT-MUTTER:1/4-20:GR2
Art.Nr.: WG-712-0298
Part 77 NUT:HEXJAM:1/4-20:GR2
Article no.: WG-712-0298
Partie 77 ECROU HEXAGONAL AF-43015
Numéro d'article: WG-712-0298
3,43 € ohne Abbildung
Teil 78 TELLERFEDER:0.336X0.885X.060
Art.Nr.: WG-736-0242
Part 78 WASH:BLVL:0.336X0.885X0.060
Article no.: WG-736-0242
Partie 78 RONDELLE CONIQUE.340X.872X.060
Numéro d'article: WG-736-0242
3,74 € Teil 78 TELLERFEDER:0.336X0.885X.060 Art.Nr.: WG-736-0242
Teil 79 U-SCHEIBE:0.396 x0.885 x0.060
Art.Nr.: WG-736-0300
Part 79 WASH:FLAT:0.396X0.885X0.060
Article no.: WG-736-0300
Partie 79 RONDELLE
Numéro d'article: WG-736-0300
2,56 € Teil 79 U-SCHEIBE:0.396 x0.885 x0.060 Art.Nr.: WG-736-0300
Teil 83 FEDERRING 3/8"
Art.Nr.: WG-736-0169
Part 83 WASH:LOCK:3/8:REGULAR DUTY
Article no.: WG-736-0169
Partie 83 BAGUE ÜLASTIQUE
Numéro d'article: WG-736-0169
2,56 € Teil 83 FEDERRING 3/8
Teil 85 GETRIEBEFETT:BENALENE 372
Art.Nr.: WG-737-0223
Part 85 GREASE BENALENE 372
Article no.: WG-737-0223
Partie 85 GRAISSE BENALENE 372
Numéro d'article: WG-737-0223
20,66 €**ohne Abbildung
Teil 86 6KT-BLECHSCHR.#8-32:0.38
Art.Nr.: WG-710-0148
Part 86 SCR:F:#8-32:0.38:HXINDWSH
Article no.: WG-710-0148
Partie 86 VIS
Numéro d'article: WG-710-0148
2,61 € ohne Abbildung
Teil 87 VINYLGRIFF (KUPPLUNG)
Art.Nr.: WG-731-0473
Part 87 VINYL-GRIP
Article no.: WG-731-0473
Partie 87 PLASTIC
Numéro d'article: WG-731-0473
10,13 €**ohne Abbildung
inkl. 19 % MwSt. Steuer-Info
zzgl. Versandkosten
Lieferzeit: 3-10 Werktage*
In den Warenkorb

Wenn Sie Hilfe zu einer Störung Ihres MTD Gerätes benötigen, nehmen Sie einfach Kontakt zu uns auf. Sie können gerne auch eine Nachricht per WhatsApp an 0152 560 383 53 senden. Wir helfen Ihnen gerne!

Alle aufgelisteten Ersatzteile sind original MTD Ersatzteile.

Alle Artikel aus der Kategorie Ersatzteile MTD Laubbläser Laubsauger Vacu-Jet-Star Typ: 244-685-678 (1994)

Bitte beachten Sie, dass Elektro MTD Ersatzteile nur von Elektrofachkräften nach Vorgabe des Herstellers unter Berücksichtigung der gesetzlichen Vorschriften ersetzt werden dürfen.

Info zu GPSR: Stanley Black & Decker Deutschland GmbH Black-&-Decker-Strasse 40, 65510 Idstein support@blackanddecker.de

    Kategorien
    Ersatzteil-Fee

    Die Ersatzteilfee

    Das rege Interesse an dem Angebot in meinem Onlineshop hat mir gezeigt, dass die Zufriedenheit meiner Kunden sehr groß ist. Zahlreiche positive Kundenmeinungen bestätigen den gut sortierten Aufbau des Shops, die gute Beratung und den zügigen Versand. Mehr über mich...

    Wir helfen Ihnen gerne, das richtige Ersatzteil zu finden. Dazu können Sie uns auch gerne Anfragen oder Fotos vom Ersatzteil/Gerät auf das Handy 0152 560 383 53
    per WhatsApp senden. SMS Nachrichten können nicht empfangen werden!


    Info zur Mehrwertsteuer

    Lieferland wählen

    Wählen Sie das Lieferland aus, um die Preise inkl. MwSt. abhängig von der Lieferadresse angezeigt zu bekommen.



    Die im Shop angegebenen Preise sind in Euro inkl. der deutschen Mehrwertsteuer angegeben.
    Für Bestellungen aus einem anderen EU-Land muss die dort geltende Mehrwertsteuer berechnet werden. Wenn Sie im Warenkorb das Lieferland auswählen, wird Ihnen auch der korrekte Mehrwertsteuersatz zu Ihrem EU-Land angezeigt.