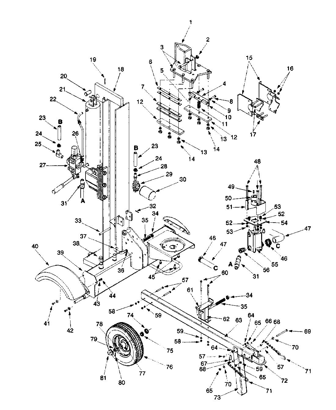
Ersatzteile MTD Holzspalter 550 C Typ: 24AA550C602  (2000) Grundgerät
Für eine größere Ansicht klicken Sie auf das Vorschaubild

Ersatzteile MTD Holzspalter 550 C Typ: 24AA550C602 (2000) Grundgerät

MTD
MTD Art.Nr.: E4-00905A-01
Hier können Sie Ersatzteile MTD Holzspalter 550 C Typ: 24AA550C602 (2000) Grundgerät einfach online kaufen.

In der Skizze sind die Teile mit einer Zahl gekennzeichnet. Diese finden Sie in der Tabelle wieder und können so das Ersatzteil aus der Tabelle auswählen und online kaufen.


Ersatzteil
deutschenglishfrench
PreisBildkaufen
Teil 2 SKT-MUTTER 1/2-20"
Art.Nr.: WG-712-0239
Part 2 LOCK NUT 1/2-20
Article no.: WG-712-0239
Partie 2 ECROU
Numéro d'article: WG-712-0239
7,70 € ohne Abbildung
Teil 3 SKT-SCHRAUBE
Art.Nr.: WG-710-1018
Part 3 USE 710-1043A
Article no.: WG-710-1018
Partie 3 VIS
Numéro d'article: WG-710-1018
16,64 € ohne Abbildung
Teil 5 KLOTZ
Art.Nr.: WG-781-0351
Part 5 GIB-ADJ 2 IN LG
Article no.: WG-781-0351
Partie 5 ENTRETOISE
Numéro d'article: WG-781-0351
17,47 € ohne Abbildung
Teil 7 STELL-LEISTE
Art.Nr.: WG-781-0350A
Part 7 GIB-FIXED SIDE
Article no.: WG-781-0350A
Partie 7 PLAQUE
Numéro d'article: WG-781-0350A
44,75 €**ohne Abbildung
Teil 8 6KT-SCHRAUBE:3/8-24:1.50:GR5:
Art.Nr.: WG-710-0459A
Part 8 HHCS:3/8-24:1.50:GR5:SPEC
Article no.: WG-710-0459A
Partie 8 VIS HEX.: 3/8-24:1.50:GR5:SPEC
Numéro d'article: WG-710-0459A
3,48 € Teil 8 6KT-SCHRAUBE:3/8-24:1.50:GR5: Art.Nr.: WG-710-0459A
Teil 9 6kt-S-MUTTER:3/8-24 UNF 2B:GR2
Art.Nr.: WG-712-3001
Part 9 NUT:JAM:3/8-24:GR2
Article no.: WG-712-3001
Partie 9 ECROU
Numéro d'article: WG-712-3001
2,87 € ohne Abbildung
Teil 11 U-SCHEIBE:0.527X0.940X0.092
Art.Nr.: WG-736-0192
Part 11 WASH:FLAT:0.527X0.940X0.092
Article no.: WG-736-0192
Partie 11 RONDELLE .531 X 93 X .090
Numéro d'article: WG-736-0192
3,09 € ohne Abbildung
Teil 13 ANLAUFSCHEIBE:.877X1.380X.125
Art.Nr.: WG-736-0291
Part 13 WASH:THRST:0.877X1.380X0.125
Article no.: WG-736-0291
Partie 13 RONDELLE 88X1.4X1.7"
Numéro d'article: WG-736-0291
13,92 € ohne Abbildung
Teil 13 FEDERRING:1/2"
Art.Nr.: WG-736-0921
Part 13 WASHER:LOCK:1/2:SPLT:REG
Article no.: WG-736-0921
Partie 13 RONDELLE GROWER
Numéro d'article: WG-736-0921
3,03 € ohne Abbildung
Teil 14 SKT-MUTTER 1/2-20"
Art.Nr.: WG-712-0239
Part 14 LOCK NUT 1/2-20
Article no.: WG-712-0239
Partie 14 ECROU
Numéro d'article: WG-712-0239
7,70 € ohne Abbildung
Teil 16 6KT-S-MUTTER:3/8-16:GRN8:NYLON
Art.Nr.: WG-712-0130
Part 16 NUT:HEXLK:3/8-16:GRN8:NYLON
Article no.: WG-712-0130
Partie 16 ECROU POLY STOP 3/8-16" GR 8
Numéro d'article: WG-712-0130
2,33 € Teil 16 6KT-S-MUTTER:3/8-16:GRN8:NYLON Art.Nr.: WG-712-0130
Teil 17 6KT-SCHR:3/8-16:2.50:GR5:STD
Art.Nr.: WG-710-0859
Part 17 SCREW HHCS:3/8-16:2.50:GR5:STD
Article no.: WG-710-0859
Partie 17 VIS HEX. 3/8-16:2.50:GR5:STD
Numéro d'article: WG-710-0859
4,43 € ohne Abbildung
Teil 19 SPLINT:3/16 x 2.00
Art.Nr.: WG-714-0211
Part 19 PIN:COT:SPLIT:3/16X2.00
Article no.: WG-714-0211
Partie 19 GOUPILLE
Numéro d'article: WG-714-0211
5,00 € ohne Abbildung
Teil 23 RÜCKLAUFSCHLAUCH
Art.Nr.: WG-727-0443
Part 23 HOSE-RETURN
Article no.: WG-727-0443
Partie 23 TUBE RETOUR
Numéro d'article: WG-727-0443
65,50 €**ohne Abbildung
Teil 24 SCHLAUCHKLEMME
Art.Nr.: WG-726-0132
Part 24 CLAMP-HOSE
Article no.: WG-726-0132
Partie 24 COLLIER
Numéro d'article: WG-726-0132
21,62 € ohne Abbildung
Teil 27 HYDRAULIKVENTIL
Art.Nr.: WG-718-0481
Part 27 VALVE HYDRAULIC
Article no.: WG-718-0481
Partie 27 SOUPAPE HYDRAULIQUE
Numéro d'article: WG-718-0481
479,20 €**ohne Abbildung
Teil 30 ÖLFILTEREINSATZ
Art.Nr.: WG-723-0405
Part 30 OIL-FILTER
Article no.: WG-723-0405
Partie 30 FILTRE A HUILE
Numéro d'article: WG-723-0405
63,42 €**ohne Abbildung
Teil 32 SPLINT:1/8 x 1.25
Art.Nr.: WG-714-0470
Part 32 PIN:COT:SPLIT:1/8X1.25
Article no.: WG-714-0470
Partie 32 EPINGLE EX AF-43010
Numéro d'article: WG-714-0470
4,58 € Teil 32 SPLINT:1/8 x 1.25 Art.Nr.: WG-714-0470
Teil 34 AUFDRUCKKAPPE:.625 DIA
Art.Nr.: WG-726-0214
Part 34 CAP:PUSH 5/8
Article no.: WG-726-0214
Partie 34 BOUCHON
Numéro d'article: WG-726-0214
5,58 € Teil 34 AUFDRUCKKAPPE:.625 DIA Art.Nr.: WG-726-0214
Teil 35 DRUCKFEDER:.625 ID x 4.0 LG.
Art.Nr.: WG-732-0583
Part 35 SPR:CMPRS:.625 ID. X 4.0 LG
Article no.: WG-732-0583
Partie 35 RESSORT
Numéro d'article: WG-732-0583
12,34 € Teil 35 DRUCKFEDER:.625 ID x 4.0 LG. Art.Nr.: WG-732-0583
Teil 36 U-SCHEIBE:0.630 x0.940 x0.060
Art.Nr.: WG-736-0116
Part 36 WASHER:FLAT:0.630 x.940 x0.060
Article no.: WG-736-0116
Partie 36 RONDELLE
Numéro d'article: WG-736-0116
3,31 € ohne Abbildung
Teil 41 6KT-SCHR:5/16-24:.75 GR5 STD
Art.Nr.: WG-710-0157
Part 41 HHCS:5/16-24:.75:GR5:STD
Article no.: WG-710-0157
Partie 41 VIS HEX.:5/16-24:.75 GR5 STD
Numéro d'article: WG-710-0157
4,72 € Teil 41 6KT-SCHR:5/16-24:.75 GR5 STD Art.Nr.: WG-710-0157
Teil 42 U-SCHEIBE:0.339x0.890x0.063
Art.Nr.: WG-736-0159
Part 42 WASH:FLAT:0.339X0.890X0.063
Article no.: WG-736-0159
Partie 42 RONDELLE .349 X 88X.06"
Numéro d'article: WG-736-0159
3,09 € ohne Abbildung
Teil 43 FEDERRING:5/16" NORMALAUSF.
Art.Nr.: WG-736-0119
Part 43 WASHER:LOCK:5/16:SPLT:REG
Article no.: WG-736-0119
Partie 43 RONDELLE
Numéro d'article: WG-736-0119
3,09 € Teil 43 FEDERRING:5/16
Teil 44 6KT-MUTTER:5/16-24:GR2
Art.Nr.: WG-712-3057
Part 44 NUT:HEX:5/16-24:GR2
Article no.: WG-712-3057
Partie 44 ÜCROU HEXAGONAL
Numéro d'article: WG-712-3057
3,09 € Teil 44 6KT-MUTTER:5/16-24:GR2 Art.Nr.: WG-712-3057
Teil 45 6KT-SCHR.:TT:SEMS:3/8-16:1.000
Art.Nr.: WG-710-0654A
Part 45 SCR:TT:SEMS:3/8-16:1.00:HXLWSH
Article no.: WG-710-0654A
Partie 45 VIS A SIX PANS CREUX
Numéro d'article: WG-710-0654A
5,12 € Teil 45 6KT-SCHR.:TT:SEMS:3/8-16:1.000 Art.Nr.: WG-710-0654A
Teil 49 PASSFEDER 3/16X3/16X.75"
Art.Nr.: WG-714-0122
Part 49 KEY-SQ 3/16x.75
Article no.: WG-714-0122
Partie 49 CLAVETTE 3/16X3/16X.75"
Numéro d'article: WG-714-0122
11,37 € ohne Abbildung
Teil 50 KUPPLUNGSSTÜCK
Art.Nr.: WG-718-0250A
Part 50 FITTING, BULKHEAD
Article no.: WG-718-0250A
Partie 50 EMBRAYAGE PIECE
Numéro d'article: WG-718-0250A
108,03 €**ohne Abbildung
Teil 52 FEDERRING:5/16" NORMALAUSF.
Art.Nr.: WG-736-0119
Part 52 WASHER:LOCK:5/16:SPLT:REG
Article no.: WG-736-0119
Partie 52 RONDELLE
Numéro d'article: WG-736-0119
3,09 € Teil 52 FEDERRING:5/16
Teil 53 6KT-MUTTER:5/16-24:GR2
Art.Nr.: WG-712-3057
Part 53 NUT:HEX:5/16-24:GR2
Article no.: WG-712-3057
Partie 53 ÜCROU HEXAGONAL
Numéro d'article: WG-712-3057
3,09 € Teil 53 6KT-MUTTER:5/16-24:GR2 Art.Nr.: WG-712-3057
Teil 55 PUMPE-HOLZSPALTER
Art.Nr.: WG-718-0476
Part 55 PUMP:LOGSP:
Article no.: WG-718-0476
Partie 55 POMPE - COUPE/BOIS
Numéro d'article: WG-718-0476
1.080,36 €**ohne Abbildung
Teil 57 6KT-SCHR:3/8-16:3.00:GR8:STD
Art.Nr.: WG-710-0521
Part 57 SCREW HHCS:3/8-16:3.00:GR8:STD
Article no.: WG-710-0521
Partie 57 VIS HEX.:3/8-16:3.00:GR8:STD
Numéro d'article: WG-710-0521
4,31 € ohne Abbildung
Teil 58 6KT-MUTTER:3/8-16:GR2
Art.Nr.: WG-712-0798
Part 58 NUT:HEX:3/8-16:GR2
Article no.: WG-712-0798
Partie 58 ECROU HEXAGONAL
Numéro d'article: WG-712-0798
7,27 € Teil 58 6KT-MUTTER:3/8-16:GR2 Art.Nr.: WG-712-0798
Teil 59 FEDERRING 3/8"
Art.Nr.: WG-736-0169
Part 59 WASH:LOCK:3/8:REGULAR DUTY
Article no.: WG-736-0169
Partie 59 BAGUE ÜLASTIQUE
Numéro d'article: WG-736-0169
2,56 € Teil 59 FEDERRING 3/8
Teil 60 6KT-SCHR:3/8-16:4.00:GR5:STD
Art.Nr.: WG-710-0411
Part 60 SCREW HHCS:3/8-16:4.00:GR5:STD
Article no.: WG-710-0411
Partie 60 VIS HHCS:3/8-16:4.00:GR5:STD
Numéro d'article: WG-710-0411
8,66 € ohne Abbildung
Teil 64 U-SCHEIBE:0.401 x0.749 x0.063
Art.Nr.: WG-736-0185
Part 64 WASH:FLAT:0.401x.0749x0.063
Article no.: WG-736-0185
Partie 64 RONDELLE 3/8.738X.063
Numéro d'article: WG-736-0185
3,09 € Teil 64 U-SCHEIBE:0.401 x0.749 x0.063 Art.Nr.: WG-736-0185
Teil 65 SKT-S-MUTTER:3/8-16:GRA:CTRLK
Art.Nr.: WG-712-0375
Part 65 NUT:HEXLK:3/8-16:GRA:CTRLK
Article no.: WG-712-0375
Partie 65 ECROU
Numéro d'article: WG-712-0375
3,36 € Teil 65 SKT-S-MUTTER:3/8-16:GRA:CTRLK Art.Nr.: WG-712-0375
Teil 66 ABSTECKBOLZEN:.315X2.415X.130
Art.Nr.: WG-711-0813
Part 66 PIN:CLV:0.315X2.415X0.130
Article no.: WG-711-0813
Partie 66 CHEVILLE
Numéro d'article: WG-711-0813
13,39 € ohne Abbildung
Teil 67 FEDERSTECKER SPEZ.
Art.Nr.: WG-732-0194
Part 67 PIN-SPRING
Article no.: WG-732-0194
Partie 67 PRISE PIVOTANTE SPECIALE
Numéro d'article: WG-732-0194
10,27 € ohne Abbildung
Teil 69 6kt-SCHR: 3/8-16:4,25:GR5:STD
Art.Nr.: WG-710-0944
Part 69 SCREW HEX CAP
Article no.: WG-710-0944
Partie 69 VIS
Numéro d'article: WG-710-0944
4,41 € ohne Abbildung
Teil 70 U-SCHEIBE:0.380 x0.880 x0.092
Art.Nr.: WG-736-0262
Part 70 WASH:FLAT:0.380 x0.880 x0.092
Article no.: WG-736-0262
Partie 70 RONDELLE PLATE:.385x.870x.092
Numéro d'article: WG-736-0262
2,68 € Teil 70 U-SCHEIBE:0.380 x0.880 x0.092 Art.Nr.: WG-736-0262
Teil 76 RAD VOLLST. GRAU 16-4.8X8
Art.Nr.: WG-634-0186
Part 76 WHEEL ASSY. COMP. GRAY
Article no.: WG-634-0186
Partie 76 ROUE COMPLET GRIS 16-4,8x8
Numéro d'article: WG-634-0186
294,36 €**ohne Abbildung
Teil 76 LUFTVENTIL:REIFEN
Art.Nr.: WG-734-0255
Part 76 VALVE - TUBELESS AIR
Article no.: WG-734-0255
Partie 76 VALVE:PNEU
Numéro d'article: WG-734-0255
7,33 € Teil 76 LUFTVENTIL:REIFEN Art.Nr.: WG-734-0255
Teil 78 PASSSCHEIBE:0.755X1.505X0.030
Art.Nr.: WG-736-0351
Part 78 WASH:SHIM:0.755X1.505X0.030:HD
Article no.: WG-736-0351
Partie 78 RONDELLE .75x1.50"
Numéro d'article: WG-736-0351
2,56 € ohne Abbildung
Teil 79 SKT.KRONENMUTTER
Art.Nr.: WG-712-0359
Part 79 NUT-HEX SLOTTED
Article no.: WG-712-0359
Partie 79 ECROU
Numéro d'article: WG-712-0359
8,84 € ohne Abbildung
Teil 80 SPLINT:5/32:1.25
Art.Nr.: WG-714-0162
Part 80 PIN:COT:5/32:1.25
Article no.: WG-714-0162
Partie 80 GOUPILLE FENDUE 5/32:1.25
Numéro d'article: WG-714-0162
3,03 € Teil 80 SPLINT:5/32:1.25 Art.Nr.: WG-714-0162
Teil 81 RADKAPPE
Art.Nr.: WG-734-0873
Part 81 HUB-CAP
Article no.: WG-734-0873
Partie 81 ENJOLIVEUR
Numéro d'article: WG-734-0873
12,98 € ohne Abbildung
inkl. 19 % MwSt. Steuer-Info
zzgl. Versandkosten
Lieferzeit: 3-10 Werktage*
In den Warenkorb

Wenn Sie Hilfe zu einer Störung Ihres MTD Gerätes benötigen, nehmen Sie einfach Kontakt zu uns auf. Sie können gerne auch eine Nachricht per WhatsApp an 0152 560 383 53 senden. Wir helfen Ihnen gerne!

Alle aufgelisteten Ersatzteile sind original MTD Ersatzteile.

Alle Artikel aus der Kategorie Ersatzteile MTD Holzspalter 550 C Typ: 24AA550C602 (2000)

Bitte beachten Sie, dass Elektro MTD Ersatzteile nur von Elektrofachkräften nach Vorgabe des Herstellers unter Berücksichtigung der gesetzlichen Vorschriften ersetzt werden dürfen.

Info zu GPSR: Stanley Black & Decker Deutschland GmbH Black-&-Decker-Strasse 40, 65510 Idstein support@blackanddecker.de

    Ersatzteil-Fee

    Die Ersatzteilfee

    Das rege Interesse an dem Angebot in meinem Onlineshop hat mir gezeigt, dass die Zufriedenheit meiner Kunden sehr groß ist. Zahlreiche positive Kundenmeinungen bestätigen den gut sortierten Aufbau des Shops, die gute Beratung und den zügigen Versand. Mehr über mich...

    Wir helfen Ihnen gerne, das richtige Ersatzteil zu finden. Dazu können Sie uns auch gerne Anfragen oder Fotos vom Ersatzteil/Gerät auf das Handy 0152 560 383 53
    per WhatsApp senden. SMS Nachrichten können nicht empfangen werden!


    Info zur Mehrwertsteuer

    Lieferland wählen

    Wählen Sie das Lieferland aus, um die Preise inkl. MwSt. abhängig von der Lieferadresse angezeigt zu bekommen.



    Die im Shop angegebenen Preise sind in Euro inkl. der deutschen Mehrwertsteuer angegeben.
    Für Bestellungen aus einem anderen EU-Land muss die dort geltende Mehrwertsteuer berechnet werden. Wenn Sie im Warenkorb das Lieferland auswählen, wird Ihnen auch der korrekte Mehrwertsteuersatz zu Ihrem EU-Land angezeigt.