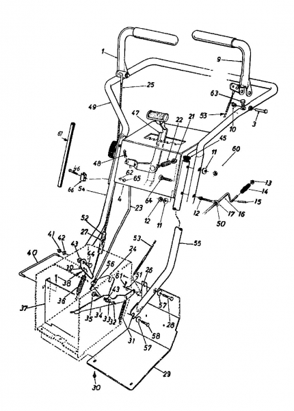
Ersatzteile Blizzard Schneefräsen Twin 5-61 Typ: 310-3550  (1990) Holm
Für eine größere Ansicht klicken Sie auf das Vorschaubild

Ersatzteile Blizzard Schneefräsen Twin 5-61 Typ: 310-3550 (1990) Holm

MTD
MTD Art.Nr.: A1989-90-1641-01
Hier können Sie Ersatzteile Blizzard Schneefräsen Twin 5-61 Typ: 310-3550 (1990) Holm einfach online kaufen.

In der Skizze sind die Teile mit einer Zahl gekennzeichnet. Diese finden Sie in der Tabelle wieder und können so das Ersatzteil aus der Tabelle auswählen und online kaufen.


Ersatzteil
deutschenglishfrench
PreisBildkaufen
Teil 3 SCHRAUBE:.375X1.37:1/4-20:GR2
Art.Nr.: WG-738-0560
Part 3 SCR:SHLDR:0.375X1.370:1/4-20
Article no.: WG-738-0560
Partie 3 AXE
Numéro d'article: WG-738-0560
8,62 € ohne Abbildung
Teil 11 TELLERFEDER:0.336X0.885X.060
Art.Nr.: WG-736-0242
Part 11 WASH:BLVL:0.336X0.885X0.060
Article no.: WG-736-0242
Partie 11 RONDELLE CONIQUE.340X.872X.060
Numéro d'article: WG-736-0242
3,74 € Teil 11 TELLERFEDER:0.336X0.885X.060 Art.Nr.: WG-736-0242
Teil 13 AUFDRUCKKAPPE 3/8": STANGE
Art.Nr.: WG-726-0100
Part 13 CAP
Article no.: WG-726-0100
Partie 13 COUVERCLE
Numéro d'article: WG-726-0100
2,95 € Teil 13 AUFDRUCKKAPPE 3/8
Teil 14 KURBELGRIFF:1.00 DIA x 3.2
Art.Nr.: WG-720-0201A
Part 14 KNOB:CRK:1.00 DIA x 3.2 CHUTE
Article no.: WG-720-0201A
Partie 14 POIGNÜE DE MANIV.:1.00DIAx3.2
Numéro d'article: WG-720-0201A
13,75 € Teil 14 KURBELGRIFF:1.00 DIA x 3.2 Art.Nr.: WG-720-0201A
Teil 15 SPANNHÜLSE
Art.Nr.: WG-715-0138
Part 15 USE 715-0247
Article no.: WG-715-0138
Partie 15 GOUPILLE
Numéro d'article: WG-715-0138
12,34 € ohne Abbildung
Teil 21 6KT-S-MUTTER:3/8-24:GR2:NYLON
Art.Nr.: WG-712-0116
Part 21 NUT:JAMLK:3/8-24:GR2:NYLON
Article no.: WG-712-0116
Partie 21 ECROU HEXAGONAL: 3/8-24:GR5:
Numéro d'article: WG-712-0116
3,69 € ohne Abbildung
Teil 22 DRUCKFEDER: .39 x .60 x .88 LG
Art.Nr.: WG-732-0193
Part 22 SPR:CMPRS:.39 x.60 x.88 LG
Article no.: WG-732-0193
Partie 22 RESSORT DE PRE.:.39x.60x.88 LG
Numéro d'article: WG-732-0193
3,21 € ohne Abbildung
Teil 25 KUPPLUNGSKABEL
Art.Nr.: WG-746-0367
Part 25 CABLE-LOCKOUT
Article no.: WG-746-0367
Partie 25 EMBRAYAGE CABLE
Numéro d'article: WG-746-0367
33,50 €**ohne Abbildung
Teil 26 SPINDELMUTTER:1/4-20x.312x.205
Art.Nr.: WG-711-0736
Part 26 FRL:ADJ:1/4-20X0.312X0.205
Article no.: WG-711-0736
Partie 26 AXE
Numéro d'article: WG-711-0736
17,47 € ohne Abbildung
Teil 27 6KT-S-MUTTER:1/4-20:GR8:NYLON
Art.Nr.: WG-712-0324
Part 27 NUT:HEXLK:1/4-20:GR8:NYLON
Article no.: WG-712-0324
Partie 27 ECROU HEX.:1/4-20:GR8:NYLON
Numéro d'article: WG-712-0324
3,31 € ohne Abbildung
Teil 30 6KT-SCHRAUBE:TT:1/4-20:0.500
Art.Nr.: WG-710-0599
Part 30 SCREW:TT:1/4-20:0.500:HXINDWSH
Article no.: WG-710-0599
Partie 30 VIS A SIX PANS CREUX
Numéro d'article: WG-710-0599
4,58 € Teil 30 6KT-SCHRAUBE:TT:1/4-20:0.500 Art.Nr.: WG-710-0599
Teil 31 ZUGFEDER:.38 OD x 3.25" LG
Art.Nr.: WG-732-0320
Part 31 SPR:EXT:.038 x 3.25
Article no.: WG-732-0320
Partie 31 RESSORT
Numéro d'article: WG-732-0320
13,06 € ohne Abbildung
Teil 31 ZUGFEDER:.38 OD x 3.25" LG
Art.Nr.: WG-732-0320
Part 31 SPR:EXT:.038 x 3.25
Article no.: WG-732-0320
Partie 31 RESSORT
Numéro d'article: WG-732-0320
13,06 € ohne Abbildung
Teil 32 SKT-STOP-MUTTER 3/8-16"
Art.Nr.: WG-712-0342
Part 32 NUT-HEX CENTER L-JAM
Article no.: WG-712-0342
Partie 32 ECROU
Numéro d'article: WG-712-0342
2,84 € ohne Abbildung
Teil 32 SKT-STOP-MUTTER 3/8-16"
Art.Nr.: WG-712-0342
Part 32 NUT-HEX CENTER L-JAM
Article no.: WG-712-0342
Partie 32 ECROU
Numéro d'article: WG-712-0342
2,84 € ohne Abbildung
Teil 33 FEDERRING 3/8"
Art.Nr.: WG-736-0169
Part 33 WASH:LOCK:3/8:REGULAR DUTY
Article no.: WG-736-0169
Partie 33 BAGUE ÜLASTIQUE
Numéro d'article: WG-736-0169
2,56 € Teil 33 FEDERRING 3/8
Teil 33 FEDERRING 3/8"
Art.Nr.: WG-736-0169
Part 33 WASH:LOCK:3/8:REGULAR DUTY
Article no.: WG-736-0169
Partie 33 BAGUE ÜLASTIQUE
Numéro d'article: WG-736-0169
2,56 € Teil 33 FEDERRING 3/8
Teil 35 6KT-SHLT-SCHR:.625x.165:3/8-16
Art.Nr.: WG-738-0281
Part 35 SCR:SHLDR:0.625X0.165:3/8-16
Article no.: WG-738-0281
Partie 35 VIS ¡ ÜPAULE:.625 x.17:3/8-16
Numéro d'article: WG-738-0281
9,09 € ohne Abbildung
Teil 35 6KT-SHLT-SCHR:.625x.165:3/8-16
Art.Nr.: WG-738-0281
Part 35 SCR:SHLDR:0.625X0.165:3/8-16
Article no.: WG-738-0281
Partie 35 VIS ¡ ÜPAULE:.625 x.17:3/8-16
Numéro d'article: WG-738-0281
9,09 € ohne Abbildung
Teil 38 SPLINT:3/32 X .750
Art.Nr.: WG-714-0507
Part 38 PIN:COT:3/32 X .750
Article no.: WG-714-0507
Partie 38 GOUPILLE FENDUE 3/32 X .750
Numéro d'article: WG-714-0507
2,83 € Teil 38 SPLINT:3/32 X .750 Art.Nr.: WG-714-0507
Teil 38 SPLINT:3/32 X .750
Art.Nr.: WG-714-0507
Part 38 PIN:COT:3/32 X .750
Article no.: WG-714-0507
Partie 38 GOUPILLE FENDUE 3/32 X .750
Numéro d'article: WG-714-0507
2,83 € Teil 38 SPLINT:3/32 X .750 Art.Nr.: WG-714-0507
Teil 43 TELLERFEDER:.389 x 1.120 x.030
Art.Nr.: WG-736-0219
Part 43 WASH:BELL:.389 x 1.120 x.030
Article no.: WG-736-0219
Partie 43 RONDELLE
Numéro d'article: WG-736-0219
3,14 € ohne Abbildung
Teil 48 FEDERSTECKER:.072DIA x 1.13 LG
Art.Nr.: WG-714-0104
Part 48 PIN:COT:.072 DIA x 1.13 LG
Article no.: WG-714-0104
Partie 48 GOUPILLE
Numéro d'article: WG-714-0104
2,42 € Teil 48 FEDERSTECKER:.072DIA x 1.13 LG Art.Nr.: WG-714-0104
Teil 50 PLASTIK-SCHNAPPLAGER:.385 ID
Art.Nr.: WG-741-0475
Part 50 BRG:FLG:SNAP .385 ID
Article no.: WG-741-0475
Partie 50 DOUILLE PLASTIQUE:.385 ID
Numéro d'article: WG-741-0475
4,79 € Teil 50 PLASTIK-SCHNAPPLAGER:.385 ID Art.Nr.: WG-741-0475
Teil 51 U-SCHEIBE:0.320 x0.640 x 0.064
Art.Nr.: WG-736-0264
Part 51 WASH:FLAT:0.320X0.640X0.064
Article no.: WG-736-0264
Partie 51 RONDELLE: .330 x.630 x.0635
Numéro d'article: WG-736-0264
3,09 € ohne Abbildung
Teil 53 KUPPLUNGSZUG
Art.Nr.: WG-746-0435
Part 53 CABLE-LOCKOUT
Article no.: WG-746-0435
Partie 53 CABLE EMBRAYAGE
Numéro d'article: WG-746-0435
56,48 €**ohne Abbildung
Teil 56 SPINDELMUTTER:5/16-18x.312 DIA
Art.Nr.: WG-711-0677
Part 56 FERRULE:5/16-18 x.312 DIA
Article no.: WG-711-0677
Partie 56 FUSEAU D ÜCROU - EX 711-0611
Numéro d'article: WG-711-0677
14,36 € ohne Abbildung
Teil 57 TELLERFEDER:.375X0.880X0.060
Art.Nr.: WG-736-0105
Part 57 WASH:BLVL:0.375X0.880X0.060
Article no.: WG-736-0105
Partie 57 RONDELLE CONIQUE
Numéro d'article: WG-736-0105
3,09 € Teil 57 TELLERFEDER:.375X0.880X0.060 Art.Nr.: WG-736-0105
Teil 58 6KT-BLECHSCHR:TT:3/8-16:0.75
Art.Nr.: WG-710-0623
Part 58 SCR:TT:3/8-16:.75:HXINDWSH
Article no.: WG-710-0623
Partie 58 VIS PARK. HEX.:TT:3/8-16:0.750
Numéro d'article: WG-710-0623
5,35 € ohne Abbildung
Teil 62 TELLERFEDER:0.260x0.755x.062
Art.Nr.: WG-736-0270
Part 62 WASH:BLVL:0.260X0.755X0.062
Article no.: WG-736-0270
Partie 62 RONDELLE GROWER
Numéro d'article: WG-736-0270
3,09 € Teil 62 TELLERFEDER:0.260x0.755x.062 Art.Nr.: WG-736-0270
Teil 63 GUMMISTOPFEN:.62 OD x .22 THK
Art.Nr.: WG-735-0199A
Part 63 BUMPER-RUBBER:.62 OD x.22 THK
Article no.: WG-735-0199A
Partie 63 BOUCHON EN CAOUTCH.:.62ODx.22
Numéro d'article: WG-735-0199A
4,15 € Teil 63 GUMMISTOPFEN:.62 OD x .22 THK Art.Nr.: WG-735-0199A
Teil 64 FL-RD-SCHR:5/16-18:2.00:GR5
Art.Nr.: WG-710-0487
Part 64 SCREW:CRG:5/16-18:2.00:GR5
Article no.: WG-710-0487
Partie 64 VIS 5/16-18X2.0"
Numéro d'article: WG-710-0487
3,95 € ohne Abbildung
Teil 65 6KT-MUTTER:1/4-28:GR5
Art.Nr.: WG-712-0138
Part 65 NUT:HEX:1/4-28:GR5
Article no.: WG-712-0138
Partie 65 ECROU HEX. 1/4-28"
Numéro d'article: WG-712-0138
2,68 € Teil 65 6KT-MUTTER:1/4-28:GR5 Art.Nr.: WG-712-0138
inkl. 19 % MwSt. Steuer-Info
zzgl. Versandkosten
Lieferzeit: 3-10 Werktage*
In den Warenkorb

Wenn Sie Hilfe zu einer Störung Ihres MTD Gerätes benötigen, nehmen Sie einfach Kontakt zu uns auf. Sie können gerne auch eine Nachricht per WhatsApp an 0152 560 383 53 senden. Wir helfen Ihnen gerne!

Alle aufgelisteten Ersatzteile sind original MTD Ersatzteile.

Alle Artikel aus der Kategorie Ersatzteile Blizzard Schneefräsen Twin 5-61 Typ: 310-3550 (1990)

Bitte beachten Sie, dass Elektro MTD Ersatzteile nur von Elektrofachkräften nach Vorgabe des Herstellers unter Berücksichtigung der gesetzlichen Vorschriften ersetzt werden dürfen.

Info zu GPSR: Stanley Black & Decker Deutschland GmbH Black-&-Decker-Strasse 40, 65510 Idstein support@blackanddecker.de

    Kategorien
    Ersatzteil-Fee

    Die Ersatzteilfee

    Das rege Interesse an dem Angebot in meinem Onlineshop hat mir gezeigt, dass die Zufriedenheit meiner Kunden sehr groß ist. Zahlreiche positive Kundenmeinungen bestätigen den gut sortierten Aufbau des Shops, die gute Beratung und den zügigen Versand. Mehr über mich...

    Wir helfen Ihnen gerne, das richtige Ersatzteil zu finden. Dazu können Sie uns auch gerne Anfragen oder Fotos vom Ersatzteil/Gerät auf das Handy 0152 560 383 53
    per WhatsApp senden. SMS Nachrichten können nicht empfangen werden!


    Info zur Mehrwertsteuer

    Lieferland wählen

    Wählen Sie das Lieferland aus, um die Preise inkl. MwSt. abhängig von der Lieferadresse angezeigt zu bekommen.



    Die im Shop angegebenen Preise sind in Euro inkl. der deutschen Mehrwertsteuer angegeben.
    Für Bestellungen aus einem anderen EU-Land muss die dort geltende Mehrwertsteuer berechnet werden. Wenn Sie im Warenkorb das Lieferland auswählen, wird Ihnen auch der korrekte Mehrwertsteuersatz zu Ihrem EU-Land angezeigt.